ЖРД НК-33 (11Д111) и НК-43 (11Д112)

Предыстория

СНТК им. Н.Д. Кузнецова (прежнее название ОКБ-276) начал заниматься жидкостными ракетными двигателями с мая 1959 г., разработав к 1960 году для первой ступени одного из ранних вариантов ракеты Р-9А (проектный индекс Р-9М) двигатель НК-9 (8Д517). В состав двигательной установки 8Д717 входило четыре одиночных двигателя НК-9, объединённых общей силовой рамой. Двигатель, работающий на компонентах жидкий кислород и керосин, при давлении в камере сгорания 10.5 МПа равивал тягу 36 (38) тонн и был выполнен по новой для того времени замкнутой схеме с дожиганием окислительного генераторного газа после турбины (немного ранее такая же схема была принята для двигателя Д-33 (11Д33) разработки ОКБ-1). В 1961 году этот же двигатель предполагалось устанавливать на первой ступени ракеты ГР-1, а его высотную модификацию - на второй ступени этой же ракеты.

ОКБ-276 не смогло своевременно завершить работу по двигателю НК-9 из-за отсутствия экспериментальной базы и сложности отработки двигателя новой схемы. На ракете Р-9А был установлен конкурирующий двигатель РД-111 (8Д716) разработки ОКБ-456, выполненный по открытой схеме, а все работы по ракете ГР-1 в 1964 году были прекращены.

В 1960 г. по инициативе С.П. Королева в ОКБ-276 начались конструкторские проработки ЖРД для ракеты Н1. При решении задачии выбора размерности двигателя для первой ступени были эскизно проработаны три варианта двигателя с тягой 150, 300 и 600 т. на компонентах жидкий кислород и керосин, замкнутой схемы и давлением в камере сгорания 15 МПа. После проведенного анализа было принято решение о применении двигателей с тягой 150 т. Главной причиной такого выбора была невозможность изготовления крупногабаритных деталей и узлов для двигателей тягой 300 и 600 т на существующей производственной базе, а также отсутствие экспериментальной и стендовой баз для отработки двигателей такой размерности: требовалась существенная модернизация, в том числе с закупкой необходимого оборудования за границей, что значительно увеличило бы сроки и стоимость разработки.

Кроме этого, выбор размерности в 150 т. имел определенные достоинства: можно было использовать высотный выриант того же двигателя на второй ступени ракеты, а также реализовать резервирование двигателей, выключая нештатно работающий и продолжая полет на оставшихся. Последнее в сочетании с надежной диагностической системой в перспективе могло значительно повысить надежность всего ракетно-космического комплекса.

Во второй половине 1961 г. ОКБ Кузнецова приступило к разработке ЖРД для ракеты Н1: двигателя первой ступени НК-15 (11Д51), второй ступени НК-15В (11Д52), третьей ступени - НК-19 (11Д53), и четвертой ступени - НК-21 (11Д54). Два последних являлись модификацией двигателя НК-9.

В 1968 г. начались работы по модернизации двигателей с целью обеспечения более высокой надежности и многоресурсности для упрощения и удешевления наземной отработки. Новые двигатели получили обозначения НК-33, НК-43, НК-31 и НК-39.

Краткая хронология создания двигателя

1960 г. - начало проектно-расчетных исследований и конструкторских проработок ЖРД для ракеты Н1. Выполнены эксизные проекты двигателей с тягой 150, 300 и 600 т. на компонентах жидкий кислород и керосин, замкнутой схемы и давлением в камере сгорания 15 МПа.

1961 г. - по технологическим причинам (отсутствие оборудования для изготовления крупногабаритных деталей) принято решение о дальнейшей разработке двигателя для первой ступени ракеты Н1 тягой 150 т.

24 сентября 1962 г. - выход постановления ЦК КПСС и Совета Министров СССР о создании в ОКБ-276 двигателей первой, второй и третьей степеней ракеты Н1.

Июль 1962 г. - чертежи двигателя НК-15 (11Д51) были переданы в производство.

15 ноября 1963 г. - состоялось первое испытание двигателя НК-15 (11Д51).

15 июля 1964 г. - состоялось первое испытание двигателя НК-19 (11Д53).

20 сентября 1967 г. - состоялось первое испытание двигателя НК-15В (11Д52).

1967 г. - двигатель НК-15 (11Д51) успешно прошел государственные стендовые испытания и был допущены к лётно-конструкторским испытаниям в составе ракеты Н1.

23 июня 1968 г. - огневые испытания двигателя НК-15В в составе второй ступени (блока Б) с восемью двигателями суммарной тягой 1200 т., которое проводилось в испытательном центре НИИ ХИММаш.

1968 г. - начало модернизации двигателей с целью обеспечения более высокой надежности. Новые двигатели, получившие обозначения НК-33, НК-43, НК-31 и НК-39, предполагалось сделать многоресурсными для упрощения и удешевления наземной отработки.

21 февраля 1969 г. - первый пуск ракетно-космического комплекса Н1-Л3, завершившийся аварией в результате выключения двигателей системой контроля работы двигателя "КОРД" из-за пожара в хвостовом отсеке ракеты вследствие возникновения высокочастотных колебаний в газогенераторе двигателя № 2, приведших к отрыву штуцера отбора давления за турбиной и образования течи компонентов.

3 июля 1969 г. - второй пуск ракетно-космического комплекса Н1-Л3, завершившийся аварией из-за ненормальной работы двигателя № 8 блока А. Однозначно причина аварии не была установлена. По заключению аварийной комиссии под председательством В.П. Мишина наиболее вероятной причиной аварии было разрушение насоса окислителя двигателя при выходе на главную ступень из-за попадания в насос окислителя металлического предмета (предположительно – стальной диафрагмы датчика пульсаций давления).

Апрель 1970 г. - первые огневые испытания двигателя НК-33.

29 августа 1970 г. - огневые испытания двигателя НК-15В в составе второй ступени (блока Б) с восемью двигателями суммарной тягой 1200 т.

27 июня 1971 г. - третий запуск акетно-космической системы Н1-Л3, завершившийся аварией в результате выключения двигателей системой управления. Все 30 двигателей первой ступени (блока А) вышли на режим предварительной и главной ступеней тяги в соответствии со штатной циклограммой и нормально функционировали до их выключения системой управления на 50.1 с.

Сентябрь 1972 г. - двигатель НК-33 успешно прошел государственные стендовые испытания и был допущены к лётно-конструкторским испытаниям в составе ракеты Н1.

Октябрь 1972 г. - двигатель НК-43 успешно прошел государственные стендовые испытания и был допущены к лётно-конструкторским испытаниям в составе ракеты Н1.

Конец 1972 г. - модернизированные многоресурсные двигатели НК-33 и НК-43 доведены до степени готовности, допускающей их установку на ракету. Многоресурсность новых двигателей позволяла испытывать их многократно без съёма со стенда и переборки, а после этого устанавливать на лётный экземпляр носителя. Однако лётные испытания ракетно-космического комплекса Н1-Л3 решено продолжать со старыми ЖРД.

23 ноября 1972 г. - четвертый запуск ракетно-космической системы Н1-Л3, завершившийся аварией за 7 с до расчетного времени разделения первой и второй ступеней в результате практически мгновенного разрушения насоса окислителя двигателя № 4, которое привело к ликвидации ракеты. Однозначно причина аварии не была установлена: разрушение насоса окислителя могло быть вызвано как внутренним, так и внешним по отношению к двигателю воздействием.

15 декабря 1973 г. - огневые испытания двигателя НК-15В в составе второй ступени (блока Б) с восемью двигателями суммарной тягой 1200 т.

1974 г. - к пятому пуску на ракете Н1 были установлены модернизированные многоресурсные двигатели НК-33, НК-43, НК-39 и НК-31 соответственно на первой, второй, третьей и четвертой ступенях.

17 мая 1974 г. - Постановлением Совета Обороны СССР прекращены все работы по ракетно-космическому комплексу Н1-Л3, а ОКБ-276 рекомендованно сосредоточиться на разработках новых образцов авиационных ГТД.

Февраль 1976 г. - вышло Постановление ЦК КПСС и Совмина СССР о прекращении работ по ракетно-космическому комплексу Н1-Л3 и списанию затрат.

1976 г. - один из двигателей НК-33 проработал на стенде 14000 с.

1995 г. - проведены огневые испытания двигателя НК-33 № Ф115026М (пять пусков с суммарной наработкой 410 с).

1998 г. - проведены огневые испытания двигателя НК-33 № Ф115014М (шесть пусков с суммарной нара- боткой 524 с).

1998 г. - проведены огневые испытания двигателя НК-33 № Ф115001. Было выполнено три пуска с суммарной наработкой 280 с.

Общие сведения

Двигатель выполнен по замкнутой схеме с дожиганием окислительного генераторного газа после турбины.
Компоненты топлива: окислитель - жидкий кислород, горючее - керосин.

К конструктивным особенностям этого двигателя относятся:
  • камера сгорания с оригинальным конструкторским решением выноса акустической энергии из области горения;
  • двухзонный газогенератор с антипульсационными перегородками в зоне горения, обеспечивающими устойчивость процесса горения по отношению к высокочастотным колебаниям;
  • двухкаскадные (двухвальные) встроенные насосы окислителя и горючего с механическим и гидроприводом преднасосов;
  • малогабаритный высокооборотный насос горючего, питающий газогенератор;
  • шестерёнчатый привод большой мощности для насоса горючего, работающий в среде керосина без автономной системы смазки и охлаждения;
  • дифференциальные расходные клапаны окислителя и горючего, обеспечивающие многократный запуск;
  • разделительное устройство между насосами окислителя и горючего, обеспечивающее постоянное избыточное давление азота;
  • пиротурбинный способ запуска двигателя;
  • термостойкая эмаль для покрытия газового тракта турбины, обеспечивающая надёжную защиту материала от воздействия горячего окислительного газа;
  • применение высокопрочных алюминиевых сплавов для корпусных деталей насосных агрегатов.

Рис.1. Двигатель НК-33 [1]

Таблица 1. Технические параметры двигателя
Параметр Значение Единицы
Тяга
у Земли 154 000 кг
в пустоте 171 475 кг
Пределы дросселирования тяги 105-50 %
Давление в камере сгорания14.83МПа
Удельный импульс тяги
у Земли297.23c
в пустоте331c
Расход компонентов топлива через двигатель
суммарный517.3кг/с
Коэффициент соотношение компонентов 2.62 m(ок)/m(г)
Время работы 365 с
Масса двигателя
сухого1240кг
залитого1393кг
Габариты
высота3705мм
диаметр среза сопла1490.5мм

Описание конструкции

Пневмогидравлическая схема

Описание


Рис.2.1. Пневмогидравлическая схема [14]

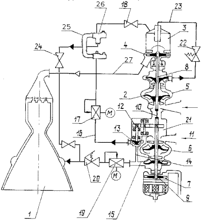
Двигатель содержит камеру сгорания 1, подключенную, соответственно, по линиям питания горючим и окислительным газом к турбонасосному агрегату 2 и к газогенератору 3. ТНА выполнен однороторным. Конструктивно ТНА состоит из двух основных составных частей: турбины 4 с насосом окислителя 5 и основного насоса горючего 6 с пусковой пиротурбиной 7. Каждая часть содержит свой вал, а именно вал насоса окислителя 8 и вал основного насоса горючего 9, соединенные рессорой 10.

Со стороны подвода горючего 11 к валу 9 основного насоса горючего через шестеренчатый мультипликатор 12 механически подключен дополнительный (дожимной) насос горючего 13. Гидравлически же вход 14 дополнительного насоса подключен к выходу 15 основного насоса горючего, а выход его через линию питания горючим 16, регулятор тяги 17 и отсечной клапан 18 подключен к двухкомпонентному газогенератору 3. Выход 15 подключен через регулятор соотношения компонентов 19 и клапан 20 с трактом охлаждения камеры сгорания 1. Внутренняя полость корпуса 21 мультипликатора с размещенными в ней шестеренками гидравлически подключена ко входу основного насоса горючего 6. Выход насоса окислителя через клапан 22 подключен к газогенератору 3 по линии 23, а выхлод из газогенератора - к головке камеры сгорания 1 по линии 27.

В процессе работы ЖРД и при его запуске весь расход окислителя подается из насоса по линии 23 на окислительный газогенератор 3. Одновременно горючее подается с выхода 15 из основного насоса горючего 6 на камеру сгорания 1 и на вход 14 дополнительного насоса 13. Получив в нем дополнительный напор на больших оборотах с большим кпд, горючее по линии 16 попадает на сгорание в газогенератор 3.

В двигателе использованы прямоточные дифференциальные клапаны управления, автоматически срабатывающие при заданном перепадне давлений компонентов топлива.

Для снижения гидроударов и улучшения затухания колебаний давления во входных топливных магистралях двигателей при запуске использованы сильфонные демпферы с продольными гофрами. Для снижения ударных нагрузок, действующих на конструкцию ракеты при выключении двигателей, введен плавный останов двигателей.

Работа двигателя

Перед запуском открываются подбаковые клапаны ракеты (на схеме не показаны) и под воздействием гидростатического напора и давления наддува компоненты топлива заполняют полости насосов окислителя и горючего и магистралей до клапанов 18, 20 и 22. Такое состояние считается исходным для запуска двигателя.

Пуск двигателя осуществляется с помощью пусковой турбины 7, находящейся на противоположном от основной турбины 4 конце вала ТНА и работающей от специальной пирошашки с отводом отработанных газов на срез сопла с помощью выхлопного патрубка. Сразу после начала раскрутки ротора ТНА пусковой турбиной автоматом запуска открываются клапаны 20, 22 и 18. Кислород и горючее начинают поступать в газогенератор 3, где происходит их зажигание при помощи пиросвечи. Горючее из основного насоса через открытый клапан 20 поступает в в тракт охлаждения камеры сгорания 1, и через определенное время достигает смесительной головки камеры. В течение этого времени задержки, в газогенераторе успевает начаться процесс горения и вырабатываемый генераторный газ раскручивает основную турбину 4 ТНА. После турбины окислительный газ поступает по газоводу 27 в смесительную головку камеры сгорания, где воспламеняется с горючим при помощи трех пиросвечей.

Открытием клапанов и зажиганием управляет специальный автомат запуска, обеспечивающий строго регламентированные времена выведения двигателя на промежуточную и главную ступени тяги. В результате разброс времени запуска и выхода на режим всех двигателей в составе ДУ ступени ракеты не превышает 0.05 с.

Регулирование осуществляется при помощи регулятора тяги 17 и регулятора соотношения компонентов 19.

Выключение двигателя производится путем прекращения подачи горючего в газогенератор при закрытии клапана 18, с последующей продувкой ТНА и рубашки камеры сгорания.

Модернизированный двигатель


Рис.2.2. Пневмогидравлическая схема модернизированного
двигателя (адаптировано)

В модернизированном двигателе выход дополнительного насоса подключен через линию питания горючим 16, регулятор тяги 17, отсечной клапан 18, заполненную пусковым горючим ампулу 25 и два пусковых клапана 26 подключен к двухкомпонентному газогенератору 3. Кроме того, выход верхнего (по схеме) клапана 26 через пусковой клапан 24 и обратный клапан подключен к коллектору горючего камеры сгорания.

Работа модернизированного двигателя

Перед запуском открываются подбаковые клапаны ракеты (на схеме не показаны) и под воздействием гидростатического напора и давления наддува компоненты топлива заполняют полости насосов окислителя и горючего и магистралей до клапанов 26 (нижнего по схеме), 20 и 22. Клапан 18 открыт. Такое состояние считается исходным для запуска двигателя.

Пуск двигателя осуществляется с помощью пусковой турбины 7, находящейся на противоположном от основной турбины 4 конце вала ТНА и работающей от специальной пирошашки с отводом отработанных газов на срез сопла с помощью выхлопного патрубка. Сразу после начала раскрутки ротора ТНА пусковой турбиной открываются клапаны 22 и 26. Пусковое горючее, вытесняемое основным горючим, и кислород начинают поступать в газогенератор 3, где происходит их самовоспламенение. Часть пускового горючего через клапан 24 и обратный клапан поступает в коллектор горючего камеры сгорания. После открытия клапана 20 горючее, пройдя по охлаждаемому тракту камеры сгорания, через определенное время поступает в смесительную головку камеры сгорания 1, вытесняя при этом пусковое горючее, поступившее в коллектор ранее. В течение этого времени задержки, в газогенераторе успевает начаться процесс горения и вырабатываемый генераторный газ раскручивает основную турбину 4 ТНА. После турбины окислительный газ поступает по газоводу 27 в смесительную головку камеры сгорания, где воспламеняется сначала с пусковым, а затем с основным горючим.

При работе двигателя клапаны в линии подачи пускового горючего в камеру сгорания закрыты.


Рис.2.3. Пневмогидравлическая модернизированного двигателя [5]

На схеме, приведенной на рисунке 2.3, дополнительно указаны: 26 - пусковой клапан (2 шт.); 27 - подвод инертного газа (азота) в разделительное устройство между насосами окислителя и горючего; 28 - вход насоса горючего; 29 - дренаж горючего; 30 - дренаж окислителя; 31 - баллон высокого давления с инертным газом (азотом); 32 - редуктор и распредлительное устройство.

Камера

Таблица 2. Технические параметры камеры
Параметр Значение Единицы
Диаметр КС 430 мм
Диаметр минимального сечения сопла 281 мм
Диаметр выходного сечения сопла 1490,5 мм
Степень расширения сверзвуковой
части сопла
28
Давление в КС 14.83 МПа

Корпус камеры состоит из камеры сгорания и сопла. Корпус камеры включает в себя стальную внешнюю силовую оболочку и бронзовую внутреннюю огневую стенку с фрезерованными каналами, образующими тракт наружного регенеративного охлаждения камеры. Внешняя и внутренняя оболочки соеденены пайкой по поверхности ребер между каналами охлаждения. Камера сгорания имеет внутреннее теплозащитное керамическое покрытие, снижающее тепловой поток в стенку, и два пояса внутреннего завесного охлаждения.

Входной коллектор горючего, расположенный ниже (по ходу движения газа в камере) минимального сечения, распределяет его на два потока: один - в сторону форсуночной головки, второй - в сторону среза сопла. Затем горючее из коллектора у среза сопла поступает по трубкам перелива в форсуночную головку.

Форсуночная головка камеры включает центробежные форсунки горючего и струйные газовые форсунки окислителя. Поверхность переднего (огневого) днища гладкая, без антипульсационных перегородок. Задача обеспечения устойчивости рабочего процесса в камере сгорания решается организацией выноса колебательной энергии из объема камеры сгорания через удлиненные газовые форсунки, выступающие над средним днищем и образующие эффективный акустический поглотитель. Такое решение позволяет осуществлять надежное акустическое демпфирование высокочастотных колебаний в огневой части камеры сгорания при простом ее конструктивном исполнении, без нарушения оптимального расположения форсунок, при сохранении надежного охлаждения огневого днища и стенок камеры. (см. также раздел "Тракт генераторного газа").

Рис.3. Схема акустического поглотителя
  1. огневая часть камеры сгорания
  2. предфосуночная полость
  3. среднее днище
  4. огневое днище
  5. газовые форсунки
  6. выравнивающая решетка

Турбонасосный агрегат (ТНА)

Для удовлетворения требования обеспечить работу ТНА при низких давлениях на входе в насосы (в ТЗ для НК-15/33 указывалось давление на входе в насос окислителя 1.5 кг/см2) в двигателе используются подкачивающие (бустерные) насосы. При этом вместо отдельных бустерных насосов применены встроенные в основной ТНА преднасосы, что упростило разводку компонентов и уменьшило габариты и вес ДУ.

Оба насоса ТНА выполнены двухкаскадными, с коаксиальным положением валов каскадов высокого и низкого давления. Насос горючего содержит также малогабаритный дожимной насос, служащий для подачи части горючего с повышенным давленим в газогенератор и приводимый зубчатым мультипликатором.


Рис.4. ТНА двигателя НК-33 [5]

В ТНА применен эффективный автомат разгрузки радиально-упорного подшипника от осевых сил.

Для исключения возгорания и разрушения деталей газового тракта турбины используются термозащитные покрытия (эмали) турбины и элементов окислительного тракта.

В стояночном уплотнении турбины использован меднографит, не склонный к растрескиванию.

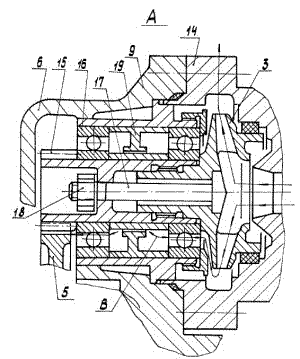
Насос окислителя


Рис.5. Схема насоса окислителя [12]

Насос окислителя 2 состоит из двух каскадов с раздельными валами 3 и 4, каждый каскад включает предвключенный шнек 5, 6 и центробежную крыльчатку 7, 8. Насос 2 снабжен входным патрубком 9 и выходным патрубком 10. Привод вращения каскада низкого давления (преднасос, включающий шнек 5 и крыльчатку 7) насоса 2 выполнен в виде гидравлической турбины 11, размещенной между предвключенным шнеком 6 и крыльчаткой 8 каскада высокого давления. Шнек 6 снабжен закрывающей его кольцевой обечайкой 12, которой он закреплен в цилиндрическом выступе 13 покрывного диска крыльчатки 8.

Во время работы турбонасосного агрегата жидкий кислород по патрубку 9 поступает на вход насоса 2 и через предвключенный шнек 5 каскада низкого давления поступает в крыльчатку 7, из которой по каналам в литом корпусе подается на вход в предвключенный шнек 6 каскада высокого давления, а из него направляется в крыльчатку 8. На пути потока между шнеком 6 и крыльчаткой 8 установлена гидравлическая турбина 11, соединенная с валом 4 каскада низкого давления, которая и приводится во вращение этим потоком. Шнек 6 и крыльчатка 8 каскада высокого давления приводятся во вращение турбиной 1.

Вращение ротора преднасоса с частотой меньшей, чем вращение ротора насоса высокого давления, происходящее за счет соответствующего подбора параметров гидравлической турбины, позволяет улучшить антикавитационные свойства насоса. Применение гидравлической турбины для привода каскада низкого давления позволило значительно уменьшить габариты и вес агрегата и упростить его конструкцию (по сравнению с двухкаскадном насосом с зубчатым редуктором).

Для уменьшения размеров и массы посторонних частиц, могущих привести к возгоранию в газовом тракте турбины, а также поломке деталей насоса (прежде всего шнека преднасоса) на входе в двигатель установлен фильтр.

Насос горючего


Рис.6. Схема насоса горючего [13]

Трехступенчатый насос горючего содержит шнекоцентробежный насос первой ступени 1 (преднасос, каскад низкого давления), шнекоцентробежный насос второй ступени 2, дожимной центробежный насос 3, редуктор 5. Насос 1 размещен во входном 6 и промежуточным 7 корпусах, а насос 2 - в корпусе 8. За одно целое с корпусом 1 выполнен (обливкой) и корпус редуктора 5, имеющий прилив 9. Турбина 4 установлена на внутреннем валу 10, на котором установлен шнек и крыльчатка насоса 2 и шестерня 11 редуктора. Шнек и крыльчатка насоса 1 установлены на валу 12, на конце которого имеется зубчатое зацепление, соединенное с шестернями редуктора 5. Вал 10 насоса второй ступени 2 и полый вал 12 преднасоса 1 расположены концентрично с образованием кольцевой полости (20 на рис. 7), служит подводящим каналом горючего для охлаждения и смазки зубчатых колес редуктора.

Дожимной насос 3, служащий для подачи части горючего с повышенным давленим в газогенератор, расположен с внешней стороны насосов 1 и 2 в приливе 9 корпуса редуктора 5. Вход в насос 3 соединен патрубком 13 с полостью улитки корпуса 8 насоса 2 и с корпусом 14, закрывающим крыльчатку насоса 3 со стороны входа. Вал-шестерня 15 соединен с редуктором 5 и установлен на подшипниках 16. Вал-шестерня 15 и крыльчатка насоса 3 стянуты болтом 17 и гайкой 18.

Для обеспечения нормированного перетекания части компонента (транспортируемого и сжимаемого насосом 3) из улитки этого насоса в полость редуктора 5 между подшипниками 16 установлена дроселирующая и уплотняющая втулка 19.

Вал 10 насоса второй ступени непосредственно соединен с пусковой турбиной 4, а через рессору (на схеме не показана, расположена со стороны преднасоса) и вал насоса окислителя - с осноной турбиной.

Во время работы турбонасосного агрегата турбина вращает вал 10 и вместе с ним и насос 2 второй ступени и шестерню 11. Шестерня 11 через редуктор 5 передает вращение на зубчатое зацепление вала 12, вместе с которым вращается и преднасос 1. Крутящий момент через редуктор 5 передается и на вал-шестерню 15, с которым соединена крыльчатка насоса 3. Таким образом, крутящий момент от турбины передается на насосы 1, 2 и 3. Горючее поступает через патрубок Б на вход в преднасос 1, из которого подается в насос 2. Часть горючего из улитки корпуса 8 по патрубку 13 поступает в дожимной насос 3, откуда подается в линию питания газогенератора. Часть горючего из улитки корпуса 14 через подшипники 16 и дозирующее уплотнение 19 сбрасывается в зону зацепления шестерни 15 и шестерни редуктора 5, чем обеспечивается смазка и охлаждение подшипников 16 и зубчатого зацепления.

Вращение ротора преднасоса с частотой меньшей, чем вращение ротора насоса второй ступени, происходящее за счет соответствующего передаточного отношения понижающего редуктора, позволяет улучшить антикавитационные свойства насоса.

Вращение ротора дожимного насоса с частотой большей, чем вращение ротора насоса второй ступени, происходящее за счет соответствующего передаточного отношения шестеренчатого мультипликатора, позволяет получить высокий кпд дожимного насоса.


Рис.7. Схема смазки и охлаждения редуктора насоса горючего

Смазка и охлаждение редуктора насоса горючего следующим образом. Горючее с выхода преднасоса 1 по каналам в литом промежуточном корпусе 7 поступает на вход насоса второй ступени 2, а также через кольцевую полость 20 - в полость редуктора 5, охлаждая и смазывая его шестерни и подшипники. Дополнительный приток компонента для смазки и охлаждения редуктора осуществляется через подшипники 16 и дозирующее уплотнение 19 из улитки корпуса 14 дожимного насоса 3. Затем жидкость из полости редуктора отводится через отводящий канал 21 на вход Б преднасоса.

Газотурбинный привод ТНА


Рис.8. Схема газотурбинного привода [15]

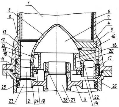
Газотурбинный привод состоит из газогенератора 1, соплового аппарата 2 и турбины 3.

Сопловой аппарат 2 содержит обтекатель 6 с полостью 7, наружную обечайку 8, соединенных радиальными стойками 9. Сопловой аппарат 2 размещен внутри корпуса 4 генератора 1 и закреплен в нем при помощи шлицов 10 и резьбового кольца 11. Между корпусом газогенератора и наружной обечайкой 8 образована кольцевая полость 12. Между наружной обечайкой 8, обтекателем 6 и радиальными стойками 9 расположен газовый тракт 13 для протока генераторного газа к сопловому аппарату и далее к турбине 3. Между сопловым аппаратом 2 и турбиной 3 расположена кольцевая полость 14.

В наружной обечайке 8 выполнены каналы 15 для соединения полости 13 с полостью 12, а в стойках 9 выполнены каналы 16, соединяющие полость 12 с полостью 7. Резьбовое кольцо 11 снабжено каналами 17 для соединения полости 12 с полостью 14.

Демпфирующее устройство на входе в сопловой аппарат представлено полой втулкой 18, смонтированной на внутренней поверхности обтекателя 6 и закрепленной с гайкой 19. Между внутренней поверхностью обтекателя 6 и втулкой 18 образована кольцевая демпфирующая полость 20, соединенная отверстиями 21 и 22 с газовым трактом 13 непосредственно перед сопловым аппаратом 2.

Газовая турбина 3 содержит лопатки 23, установленные на диске 24 и бандажное кольцо 25. Турбина 3 размещена в корпусе 26 и закреплена на валу, например, турбонасосного агрегата гайкой 28.

Во время работы газотурбинного привода в газогенераторе 1 вырабатывается газ, который по каналу 13 через сопловой аппарат 2 подается на лопатки 23 турбины 3 и приводит ее во вращение. Крутящий момент от турбины 3 передается на вал 27, который вращает ротор турбонасосного агрегата. Холодный кислород, поступающий в рубашку 5 газогенератора 1, охлаждает корпус 4 газогенератора, а затем поступает в газовый тракт 13, где, омывая внутреннюю поверхность обечайки 8 через каналы 15, поступает в полость 12, откуда по каналам 17 охлаждает сопловой аппарат 2 и поступает в зону бандажного кольца 25 и корпуса турбины 26, охлаждая их. Часть кислорода из полости 12 по каналам 16 поступает в полость 7 и далее мимо втулки 18 омывает детали вала и турбины, охлаждая их. Таким образом, все детали привода омываются холодным кислородом и охлаждаются, что повышает надежность их работы.

При наличии пульсаций давления в потоке газа, проходящего по каналу 13, часть его по отверстиям 21 и 22 поступает в демпфирующую полость 20. За счет перетеканий потока по отверстиям 21 и 22 в полость 20 и обратно происходит демпфирование пульсаций давления в канале 13 перед сопловым аппаратом 2, что дополнительно повышает надежность работы и устойчивость процесса в потоке газа.

Размещение соплового аппарата 2 с сопрягаемыми деталями в корпусе газогенератора обеспечило уменьшение длинновых габаритов привода и его вес.

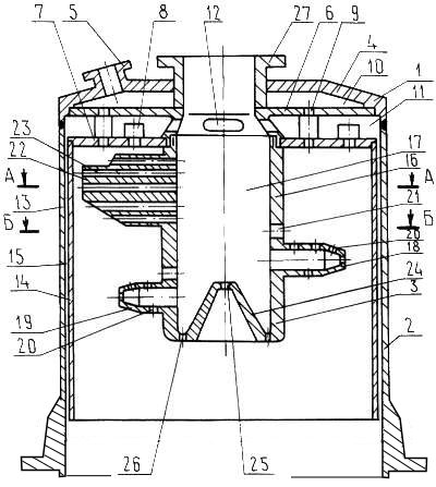
Газогенератор


Рис.9. Схема газогенератора [16]

Газогенератор содержит головку 1, камеру 2, распределитель 3. Головка 1 содержит переднее днище 4 с патрубком подвода горючего 5, среднее днище 6, огневое днище 7, форсунки окислителя 8, форсунки горючего 9. Между передним 4 и средним 6 днищами образована полость 10 для подвода горючего к форсункам 9, а между огневым днищем 7 и средним днищем 6 образована полость 11 для подвода окислителя к форсункам 8. В среднем днище 6 выполнены пазы 12 для подвода окислителя в полость 11.

Камера газогенератора содержит наружный корпус 13 и внутреннюю оболочку 14, между которыми имеются каналы 15 для прохода окислителя. Распределитель 3, расположенный по оси газогенератора, содержит цилиндр 16 с полостью 17 избыточного компонента, смесительные элементы 18 и 19 в виде полых цилиндров, закрытых шатровыми головками и перфорированных отверстиями 20. Перед каждым смесительным элементом выполнены отверстия 21. Смесительные элементы расположены в шахматном порядке, а их высота уменьшается по потоку газа.

Между огневым днищем 7 и смесительными элементами 18 расположены радиальные профилированные пластины 22 ("крылышки") с каналами 23 подачи компонента из полости 17 в полость камеры газогенератора.

Распределитель закрыт днищем 24 в виде усеченного конуса, обращенного вершиной в сторону огневого днище 7, а в месте перехода цилиндра в днище и в вершине конуса выполнены отверстия 25 и 26.

Головка 1 газогенератора снабжена патрубком 27 для подвода окислителя в полость 11 к форсункам 8, а его избыточной части в полость 17 распределителя 16.

При работе газогенератора горючее через патрубок 5 поступает в полость 10 головки 1, откуда через форсунки 9 распыленным подается в камеру 2. Окислитель через патрубок 27 поступает по пазам 12 в полость 11, откуда по форсункам 8 в распыленном виде подается в камеру 2 и частично по каналам 15 поступает на охлаждение внутренней оболочки 14. Большая (избыточная) часть окислителя поступает в полость 17 распределителя, откуда по элементам 18, 19 через отверстия 20 поступает в поток горячего газа, идущий со стороны головки 1. Часть окислителя из полости 17 поступает в поток по отверстиям 23 в пластинах 22. Этим обеспечивается равномерная раздача холодного окислителя по всему сечению камеры 2 и равномерное его перемешивание с потоком горячего газа на коротком по длине участке. Коническое днище 24 распределителя обеспечивает плавный поворот потока окислителя в полости 17 от осевого направления в радиальное (в элементы 18, 19). Часть окислителя, поступающая через отверстия 25 и 26 в зону за днище 24, сдувает зону завихрений за днищем. Таким образом обеспеченивается перемешивания на коротком участке, что позволило уменьшить длину газогенератора и его вес.

Перегородки 22 ("крылышки") делят полость камеры 2 в районе головки 1 на ряд полостей и препятствуют распространению вибрационного горения из одной из этих полостей в другую.

Тракт генераторного газа


Рис.10. Схема газового тракта [17]

Высокие удельная тяга и запасы устойчивости горения при простом конструктивном исполнении в значительной степени обеспечены конфигурацией тракта генераторного газа.

Газовый тракт объединяет три основные сборочные единицы двигателя: камеру сгорания 4, турбонасосный агрегат 5 и газогенератор 6. Камера сгорания скреплена с ТНА по плоскости стыковки 7, причем ТНА с соосным ему газогенератором расположен сбоку от камеры сгорания. При этом ось камеры 8 и ось ТНА 9 образуют небольшой острый угол.

ТНА снабжено консольной осевой газовой турбиной 10 с ее валом 11, которая помещена в полом корпусе 12 турбины с его внутренней лобовой поверхностью 13, выхлопным патрубком 14 и плоскостью стыковки 15 с корпусом газогенератора 16. Полый корпус газогенератора с полым корпусом турбины и выхлопным патрубком образуют Г-образное колено для протока генераторного газа с возможностью приведения колеса турбины 10 во вращение. Углы в колене, а именно в корпусе 12, плавно скруглены, а плоскость вращения колеса турбины установлена под прямым углом к плоскости стыковки 7 выхлопного патрубка 14 турбины и входного патрубка 15 газовода 17 камеры сгорания.

Газовод 17 выполнен кривоосным, диффузорным и состоит из последовательно скрепленных входного патрубка 15 и конического переходника 18. Внутри патрубка 15 установлена вогнутая по направлению потока выравнивающая решетка 19, которая ограничивает предфорсуночную полость 20. Угол изгиба газовода составляет менее 90°, причем осевые линии газовода 17, патрубка 14, турбины 10 и газогенератора 6 лежат в одной плоскости. Входной патрубок в плоскости стыковки 7 с ТНА выполнен с круглым проходным сечением 21, и плоскость вращения колеса турбины расположена в таком продольном положении относительно газовода 17, что она проходит через верхнюю половину плоскости стыковки 7. Практически это условие определяет осевое положение ТНА в пространстве около камеры сгорания.

В целом, Г-образное колено, образованное корпусом газогенератора 16 и выхлопным патрубком 14 турбины и сопряженное с кривоосным газоводом 17, образует расположенный в одной плоскости тракт генераторного газа с выходом его на форсуночную головку 23. Газовод 17 выполнен длиной по осевой линии, равной не менее 1.3 наибольшего диаметра переходника 18, и степенью расширения газовода не более 4.6.

Выравнивающая решетка 19 выполнена из листового материала, причем периферийная ее часть выполнена конической с соблюдением перпендикулярности стенки к стенке входного патрубка 15, а донная ее часть - сферической. Решетка установлена по осевой линии входного патрубка на удалении от плоскости стыковки 7, равном не менее 0.8 от длины газовода, а от входа в газовые форсунки на расстоянии по оси камеры сгорания, равном, как минимум, шести диаметрам центральных отверстий в решетке. Решетка 19 выполнена с увеличенными коэффициентами живого сечения на участке, прилегающем к минимальному радиусу канала входного патрубка, и на периферийных участках по сравнению с коэффициентом живого сечения на центральных участках.

Основные газовые форсунки 30 форсуночной головки 23 изготовлены с относительной длиной газовых каналов форсунок не менее 6, а сама форсуночная головка выполнена с коэффициентом живого сечения, равным 0.18-0.2.

Двигатель работает следующим образом. Генераторный газ, выработанный в генераторе 6, выходит через газовую турбину 10, которая свою мощность передает на привод насосов ТНА. Пройдя турбину, закрученный поток генераторного газа тормозится за счет инерционных сил и интенсивной крутки на внутренней поверхности 13 корпуса 12 и на поверхности, примыкающей к внутреннему радиусу газовода. При этом по внутреннему радиусу газовода возникает заброс осевой составляющей скоростного напора большей величины, чем по наружному радиусу. Возникающая при этом радиальная составляющая скорости направлена нормально к поверхности внутреннего радиуса газовода и компенсирует центробежные силы, направленные от центра кривизны патрубка к наружному радиусу газовода. Этот эффект приводит к безотрывности потока на входе в выравнивающую решетку. После выравнивающей решетки генераторный газ попадает в предфорсуночную полость 20, а из нее через форсунки 30 в область горения. Проходя через блок форсунок и испытывая дополнительное гидравлическое сопротивление, поток газа подвергается дополнительному выравниванию. Удлиненные газовые каналы форсунок обеспечивает дополнительное улучшение равномерности полей давления при снижении потерь давления на форсуночной головке.

Суммарный разворот (от выхода из газогенератора до входа в огневую полость камеры сгорания) генераторного газа на угол, не превышающий 180°, обуславливает низкий коэффициент гидравлического сопротивления, что, в свою очередь снижает напряженность ТНА (т.е. уменьшает его мощность, массу и габариты). В газоводе отсутствуют зоны отрыва потока, приводящие к интенсивной турбулизации потока на входе в газовые каналы форсунок. (Для сравнения: в двигателе SSME генераторный газ в сумме разворачивается на угол более 360° в каждом из газоводов, а поток в них имеет сложный трехмерный характер с зонами отрыва, приводящими к интенсивной турбулизации).

Указанные конструктивные особенности газового тракта обеспечили улучшение устойчивости горения по отношению к возбуждению высокочастотных акустических колебаний в камере сгорания, и позволили отказаться от таких сложных методов по подавлению ВЧ колебаний, как антипульсационные перегородки из форсунок, выступающих в зону горения, и отдельных акустических демпферов, сообщающихся с огневой полостью камеры сгорания, применив вместо них совмещенный акустический поглотитель.

Cтендовая отработка

Модификации двигателя

Галерея

Использованные источники информации

  1. Тресвятский С.Н., Федорченко Д.Г., Данильченко В.П. Космические двигатели СНТК имени Н.Д.Кузнецова.
  2. Орлов В. Жизнь пробуждают в пламенном моторе....
  3. Рахманин В. Ф. "Переохлажденная" девятка (часть 2).
  4. Гудилин В.Е. Р-9 и ГР-1, Н1-Л3.
  5. George P. Sutton "History of Liquid Propellant Rocket Engines".
  6. Гриценко Е.А., Шитарев И.Л., Анисимов В.С. Работы по модернизации НК-33.
  7. Афанасьев И. Возмутители спокойствия из Самары.
  8. Вектор тяги. Интервью с С. Тресвятским.
  9. Петренко С., Иванов А. Большое видится на расстоянии (часть 2, часть 3).
  10. Тресвятский С.Н., Федорченко Д.Г., Данильченко В.П. Жидкостный ракетный двигатель НК-33-1. Тезисы доклада..
  11. Авиационные, ракетные, морские, промышленные двигатели. 1944-2000. Справочник.
  12. Описание изобретения к патенту Российской Федерации RU 2169862. Турбонасосный агрегат.
  13. Описание изобретения к патенту Российской Федерации RU 2204056. Турбонасосный трехступенчатый агрегат.
  14. Описание изобретения к патенту Российской Федерации RU 2204046. Жидкостный ракетный двигатель с дожиганием.
  15. Описание изобретения к патенту Российской Федерации RU 2168051. Газотурбинный привод ЖРД.
  16. Описание изобретения к патенту Российской Федерации RU 2179256. Газогенератор ЖРД.
  17. Описание изобретения к патенту Российской Федерации RU 2169049. Жидкостный ракетный двигатель.
  18. Черток Б.Е. Ракеты и люди. Лунная гонка — М.: Машиностроение, 1999.
  19. Молодцов В. Пилотируемые космические полеты.
  20. НК-33 на сайте ОАО Моторостроитель
  21. НК-43 на сайте ОАО Моторостроитель