ЖРД РД-107 и РД-108 и их модификации

Предыстория

Перед началом создания двигателей РД-107 и РД-108 для ракеты Р-7 опыт ОКБ-456 базировался в основном на создании и доведении до серийного производства двигателей для ракет Р-1 - Р-5 и их модификаций, на ряде проектных и экспериментальных работ, в первую очередь - по однокамерным 120- и 65-тонным кислородно-керосиновым ЖРД, а также на многолетних разработках конструкций, технологических процессов и на испытаниях новых типов экспериментальных камер (см. Экспериментальные двигатели и проекты - предшественники).

В частности, в конце 1948 г. была разработана и 26 апреля 1949 г. впервые испытана экспериментальная камера КС-50 "Лилипут" (на фотографии справа [11]) с медными оребренными стенками и огневым днищем, припаянными по вершинам ребер к силовым стальным наружным элементам конструкции. Охлаждаемая водой камера тягой 50 - 100 кг (в зависимости от давления в ней) много лет использовалась для испытаний высококалорийных компонентов топлива. Тогда же стало ясно, что при повышенных тепловых потоках со стороны продуктов сгорания конструкция должна базироваться на тонких, порядка 1 мм, стенках из рысокотеплопроводного материала - чистой меди или жаропрочного высокотеплопроводного медного сплава. В "Лилипуте" были предложены и реализованы многие основные элементы будущих камер: и выфрезерованные снаружи стенок канавки, с ребрами между ними, и обеспечение изменения числа ребер на конических участках сопла, и пайка медных стенок со стальными рубашками по вершинам ребер, и сварка медных и стальных элементов конструкций друг с другом.

За "Лилипутом" последовало создание экспериментальной модельной камеры ЭД-140 тягой 7 т (1949 - 1952 гг). Эта камера с профилированным соплом (на фотографии справа [11]) надежно работала при давлении газов 60 кг/см2 на топливе кислород + керосин. Главной задачей был поиск конструкции смесительной головки для ЖРД РД-110, обеспечивающую максимальный удельный импульс тяги. На этой камере были отработана многие элементы будущих двигателей: смесительная головка, гофрированные проставки в тракте охлаждения, конструкция и технология сварки узлов стыков секций сопла, а также исследованы конструкции щелевого пояса внутреннего охлаждения с тангенциальной закруткой пелены горючего.

Предварительные изыскания теме Н3 "Исследование перспектив создания РДД различных типов с дальностью полёта 5000-10000 км с массой боевой части 1...10 т" были проведены в соответствии с Постановлением Совета Министров от 4 декабря 1950 г. Среди прочих организаций к работе привлекалось ОКБ-456.

Продолжением темы Н3 явилась тема Т-I "Теоретические и экспериментальные исследования по созданию двухступенчатой баллистической ракеты с дальностью полёта 7000-8000 км". Работы проводились согласно Постановлению Совета Министров от 13 февраля 1953 г. Целью темы Т-I была разработка эскизного проекта двухступенчатой баллистической ракеты дальнего действия массой до 170 т с отделяющейся головной частью массой 3000 кг на дальность 8000 км. Однако в октябре 1953 г. по указанию заместителя Председателя Совета Министров СССР масса головной части увеличивалась до 5500 кг при сохранении дальности полёта.

В 1952-53 гг. в ОКБ-456 были проведены испытания мощного однокамерного двигателя РД-105 тягой 56 тонн, работающего на кислороде и керосине. Камера двигателя разрушалась из-за развития высокочастотной неустойчивости.

В январе 1954 г. состоялось совещание Главных конструкторов С.П.Королева, В.П.Бармина, В.П.Глушко, Б.М.Коноплева, В.И.Кузнецова, Н.А.Пилюгина. В связи с тем, что не было оснований рассчитывать на быстрое решение задачи обеспечения высокочастотной устойчивости, а также, принимая во внимание пожелание ракетчиков сократить длину двигателей, было принято решение о разработке двигателей в компактной четырехкамерной конфигурации с камерами сравнительно небольших размеров.

Тогда же было решено в качестве управляющих органов впервые использовать рулевые двигатели, которые, помимо создания управляющих моментов, обеспечивали бы конечную ступень тяги после выключения основного маршевого двигателя и требуемый импульс последействия. Это было связано с тем, что на стадии эскизного проектирования ОКБ-456 не смогло гарантировать разброс импульса последействия тяги двигателей в строго фиксированном диапазоне, что требовалось для обеспечения заданной точности стрельбы.

Вследствие отказа ОКБ-456 разрабатывать малоразмерные рулевые двигатели, эта работа была поручена С.П.Королевым начальнику отдела ОКБ-1 М.В.Мельникову, где и был разработан двигатель С1.35800. В конце 1957 - начале 1958 гг. для дальнейшей разработки, подготовки к серийному производству и последующего конструкторского сопровождения все материалы по двигателю С1.35800 переданы из ОКБ-1 в ОКБ-154 С.А.Косберга. Пуски первых экземпляров ракеты Р-7 были выполнены с использованием рулевых агрегатов конструкции ОКБ-1. Однако в процессе летных испытаний и при передаче в серию устанавливались уже рулевые камеры конструкции ОКБ-456 с удельным импульсом на 15 с больше, чем на камере конструкции ОКБ-1. Таким образом, разработка всех компонентов двигателя была сконцетрирована в одном КБ.

Материалы по двигателю С1.35800, переданные из ОКБ-1 в ОКБ-154, предположительно были использованы при создании первого для этого КБ двигателя космического назначения РД-0105.

В феврале 1954 г. были согласованы основные этапы отработки ракеты и 20 мая 1954 г. было принято Постановление по разработке двухступенчатой баллистической ракеты Р-7 (8К71). Эскизный проект по ракетному комплексу Р-7 был готов в середине июля 1954 г.

Подробнее о предыстории создания ЖРД РД-107/108 см. Экспериментальные двигатели и проекты - предшественники.

Краткая хронология создания двигателя

4 декабря 1950 г. - выход Постановлением Совета Министров СССР о проведении работ по теме Н3 "Исследование перспектив создания РДД различных типов с дальностью полёта 5000-10000 км с массой боевой части 1...10 т". При выполнении темы была возможность создания двигателей тягой 200-300 т. c удельным импульсом в пустоте 325 с, работающих на компонентах топлива "жидкий кислород - керосин".

13 февраля 1953 г. - выход Постановлением Совета Министров СССР о проведении работ по теме Т-I "Теоретические и экспериментальные исследования по созданию двухступенчатой баллистической ракеты с дальностью полёта 7000-8000 км". Начало разработки эскизного проекта двухступенчатой баллистической ракеты дальнего действия массой до 170 т.

Октябрь 1953 г. - по указанию Совета Министров СССР масса головной части увеличивалась до 5500 кг при сохранении дальности полёта.

Январь 1954 г. - состоялось совещание Главных конструкторов С.П.Королева, В.П.Бармина, В.П.Глушко, Б.М.Коноплева, В.И.Кузнецова, Н.А.Пилюгина с участием М.И.Борисенко, К.Д.Бушуева, С.С.Крюкова и В.П.Мишина, на котором обсуждался вопрос о дальнейших работах по ракете в связи с увеличением массы головной части. В результате обсуждения всех этих вопросов были приняты основные характеристики ракеты Р-7.

20 мая 1954 г. - вышло Постановление Совета Министров СССР о разработке двухступенчатой баллистической ракеты Р-7 (8К71). ОКБ-456 определено в качестве соисполнителя - разработчика двигателей 8Д74 (РД-107) и 8Д75 (РД-108).

Июль 1954 г. - завершен эскизный проект по ракетному комплексу Р-7. Короткий срок разработки эскизного проекта был во многом обеспечены за счёт использования задела по теме Т-1.

20 ноября 1954 г. - эскизный проект ракеты Р-7 (8К71) одобрен Советом Министров СССР.

Начало 1955 г. - осуществлено первое огневое испытание ЖРД РД-107 в четырехкамерном варианте без рулевых камер.

июль 1956 г. - март 1957 г. - проведение огневых испытаний ракетных блоков и ракеты в целом на стендовой базе филиала N2 НИИ-88, построенной специально для отработки ракеты Р-7. Испытания включали огневые испытания одиночных блоков с целью проверки режимов запуска и работы маршевых и рулевых двигателей в составе двигательной установки, проверки работоспособности систем питания двигателей, проверку системы опорожнения баков.

Было проведено пять огневых испытаний трёх боковых блоков (15 августа, 1 и 24 сентября, 11 октября и 3 декабря 1956 г.), три испытания центрального блока (27 декабря 1956 г. блок 2ЦС, 10 и 26 января 1957 г. блок 1ЦС) и огневые испытания двух собранных в "пакет" ракет (20 февраля "пакет" 2С, 30 марта 1957 г. "пакет" 4СЛ - лётный вариант).

15 мая 1957 г. - состоялся первый пуск ракеты Р-7 N5, завершившийся аварией на участке работы первой ступени в результате негерметичности топливной магистрали горючего.

11 июня 1957 г. - три попытки второго пуска. На третьей попытке произошло аварийное выключение двигательных установок на режиме предварительной ступени из-за ошибки, допущенной на технической позиции при установке клапана азотной продувки магистрали окислителя центрального блока. Ракета была снята с пускового устройства и возвращена на техническую позицию.

12 июля 1957 г. - состоялся третий пуск ракеты Р-7, завершившийся аварией в результате потери ракетой устойчивости на 33 с полёта.

21 августа 1957 г. и 7 сентября 1957 г. - состоялись четвёртый (первый успешный) и пятый (второй успешный) пуски.

4 октября 1957 г. и 3 ноября 1957 г. - состоялись шестой (третий успешный) и седьмой (четвертый успешный) пуски ракеты Р-7 (8К71ПС) N 1ПС с первым искусственным спутников Земли и N 2ПС со вторым искусственным спутником Земли соответственно. На ракете 8К71ПС были установлены модифицированные двигатели 8Д74ПС и 8Д75ПС с уменьшенным на 5 с и 6 с (соответственно) удельным импульсом за счет повышенного расхода горючего на пристеночный слой. Кроме того, двигатель 8Д74ПС переводился с главной ступени тяги на первую промежуточную на 100-ой секунде работы и обеспечивал на 15% больший расход азота, а в программе двигателя 8Д75ПС отсутствовала операция по останову, который осуществлялся по выроботке топлива.

1958 г. - на серийном заводе № 24 (ныне ОАО "Моторостроитель", г. Самара) впервые собраны и успешно прошли стендовые испытания двигатели 8Д74 (РД-107) и 8Д75 (РД-108).

27 апреля 1958 г. и 5 мая 1958 г. - пуски ракеты 8А91 с третьим искусственным спутников Земли (первый пуск завершился аварией). На ракете 8А91 были установлены модифицированные двигатели 8Д76 и 8Д77. Двигатель 8Д76 переводился с главной ступени тяги на первую промежуточную на 85-ой секунде работы и обеспечивал на 5% больший расход азота, а в программе двигателя 8Д77 отсутствовала операция по останову, который осуществлялся по выроботке топлива.

23 сентября 1958 г. - первый запуск трехступенчатой ракеты 8К72 с лунной станцией Е1 завершился аварией на 87 секунде полета из-за пульсация давления в камере сгорания доработанных с целью повышенния удельного импульса двигателей I и II ступеней. Два последующих пуска 12 октября 1958 г. и 4 декабря 1958 г. также завершились аварийно, причем первый из них - по той же причине, а второй - из-за неисправности в насосе перекиси водорода. 2 января 1959 г. ракета 8К72 успешно вывела на межпланетную траекторию автоматическую станцию "Луна-1" (промах по Луне).

23 декабря 1959 г. - первый пуск усовершенствованной МБР Р-7А (8К74). Ракета оснащалась двигателями 8Д75 и 8Д74. 12 сентября 1960 года ракета Р-7А (8К74) была принята на вооружение и заменила МБР Р-7 (8К71). Позднее эти же двигатели использовались в составе ракеты 8К72К (впоследствии названной "Восток").

10 октября 1960 г. - первый пуск ракеты 8К78 ("Молния") с двигателями 8Д75К и 8Д74К (в дальнейшем двигателю 8Д74К был присвоен индекс 8Д728) c повышенным удельным импульсом. Позднее двигатель 8Д74К под индексом 8Д728 использовался в составе ракет 11А57 ("Восход", первый пуск в 1963 г., двигатели 8Д727 (8Д75М) и 8Д728), 8К78М ("Молния-М", первый пуск в 1964 г., двигатели 8Д727К (8Д75Ф) и 8Д728) и 11А511 ("Союз", первый пуск в 1966 г., двигатели 8Д727 (8Д75М) и 8Д728).

10 февраля 1971 г. - на базе ракеты 11А511 ("Союз") начата разработка ракеты 11А511У ("Союз-У"). В качестве ДУ I и II ступеней использованы двигатели 11Д511 (РД-118) и 11Д512 (РД-117). Эксплуатация ракеты начата в 1973 г.

1982 г. - первый пуск ракеты 11А511У2 ("Союз-У2"), отличающейся от 11А511У ("Союз-У") использованием на второй ступени двигателя 11Д511ПФ, работающего на синтетическом керосине (синтине) вместо обычного, что позволило увеличить полезную нагрузку на 200 кг.

1986 г. - в инициативном порядке начаты работы над модифицированными двигателеми 11Д511М и 11Д512М (в последствии двигателям 11Д511М и 11Д512М присвоены индексы 14Д21 (РД-108А) и 14Д22 (РД-107А) соответственно).

14 декабря 1993 г. - принято решение о модернизации комплекса РН типа Р-7А, в том числе повышение энергетических характеристик и высокочастотной устойчивости ДУ I и II ступеней за счёт применения форсуночных головок с улучшенным смесеобразованием (ОКР "Русь").

1993 г. - завершение эскизного проекта модифицированных двигателей 14Д21 (РД-108А) и 14Д22 (РД-107А). Основой модификации была новая конструкция смесительной головки с однокомпонентными форсунками окислителя и горючего (вместо двухкомпонентных) с дополнительными конструктивными мероприятиями по обеспечению устойчивости рабочего процесса в камерах сгорания.

17 марта 1995 г. - принято решение о поэтапном проведении работ в рамках ОКР "Русь". В первую очередь (этап 1а) решено модернизировать I и II ступени, используя модифицированных двигателей 14Д21 и 14Д22.

1996 г. - прекращены пуски ракеты 11А511У2 ("Союз-У2") в связи с невозможностью отбора надежно работающих на синтетическом горючем двигателей из уменьшившейся серии двигателей 11Д511, а также в связи с высокой стоимостью производства синтина.

1999 г. - проведены первые огневые испытания модифицированного двигателя 14Д2x. Всего было изготовлено 23 доводочных двигателя и проведено 163 огневых испытаний.

Май 2001 г. и октябрь 2002 г. - первые непилотируемый и пилотируемый пуски ракеты 11А511У-ФГ ("Союз-ФГ") с двигателями 14Д21 (РД-108А) и 14Д22 (РД-107А) на I и II ступенях.

8 ноября 2004 г. - первый пуск ракеты Союз-2 (этапа 1а) с двигателями 14Д21 (РД-108А) и 14Д22 (РД-107А) на I и II ступенях.

В настоящее время ведутся доводочные работы над двигателями 14Д21ХЗ и 14Д22ХЗ, в которых система пиротехнического зажигания заменена системой химического зажигания.

Общие сведения

Двигатель выполнен по открытой схеме со сбросом генераторного газа после турбины за борт.
Компоненты топлива: окислитель - жидкий кислород, горючее - керосин.

Двигатель состоит из четырех камер сгорания, турбонасосного агрегата (ТНА), газогенератора, испарителя азота для наддува баков ракеты, комплекта агрегатов автоматики.

Кроме того, на двигателе РД-107 имеются два рулевых агрегата, а на двигателе РД-108 четыре рулевых агрегата, которые служат для создания управляющих моментов во время полета ракеты. Рулевые агрегаты включают в себя рулевые камеры и узлы с гидроприводами, обеспечивающие качание рулевых камер в одной плоскости на углы до 45 градусов и подвод компонентов. Рулевые агрегаты питаются от основного ТНА.

На двигателях РД-107 и РД-108 было впервые осуществлено регулирование по тяге и соотношению компонентов топлива при их работе их на основном режиме, что позволило существенно повысить эффективность ракеты как за счет обеспечения более полной и синхронной выработки компонентов топлива из баков (система СОБ), так и за счет обеспечения полета ракеты с заранее рассчитанной оптимальной скоростью по всей траектории полета (система регулирования кажущейся скорости - РКС). Применение рулевых КС с достаточно высоким удельным импульсом (в пустоте 3070 м/с, у земли 2470 м/с) позволило обеспечить необходимую эффективность системы управления полетом ракеты с малыми потерями удельного импульса двигательной установки в целом.


Рис.1. Двигатель РД-107 [1] (изображение увеличивается)

Таблица 1. Технические параметры двигателей 8Д74, 8Д75, 8Д74К, 8Д75К, 8Д728, 8Д727, 11Д511, 11Д512, 14Д22 и 14Д21 [1], [17], [18]
Параметр Значение Единицы
8Д74 8Д75 8Д74К 8Д75К 8Д728 8Д727 11Д512 11Д511 14Д22 14Д21
РД-107 РД-108 РД-107 РД-108 РД-107ММ РД-108ММ РД-118 РД-117 РД-107А РД-108А
Тяга
у Земли 83 76 83.5 83.5 1 79.3 1 83.7 79.4 85.6 80.8 тонн
в пустоте 102 96 101.5 101.5 1 99.3 1 101.9 99.7 104 101 1 тонн
Давление в камере сгорания 5.85 5.1 5.85 5.1 5.85 5.31 5.86 5.32 6.0 5.44 МПа
Удельный импульс тяги
у Земли 2508 2430 2511 2433 2519 2479 2519 2480 2580 2525 м/с
в пустоте 3067 3087 3071 3080 3080 3097 3085 3098 3138 3142 м/с
Коэффициент соотношение компонентов 2.47 2.39 2.47 2.39 m(ок)/m(г)
Масса двигателя
сухого 1190 1278 1100 1145 1155 1250 1090 1075 кг
залитого 1300 1402 1166 1176 1156 1151 кг
Габариты
высота 2865 2865 2578 2865 мм
диаметр 1850 1950 1850 1950 мм
1) Тяги двигателей РД-107ММ (8Д728) 83.5/101.5 т, РД-108ММ (8Д727) 79.3/99.3 т и РД-108А (14Д21) 101 т отличаются от приведенных в таблицах [1] и [17] (по состоянию на 02.2007) на сайте НПО Энергомаш тяг 77/94 т, 69/85 т и 94 т соответственно. Предположительно, в таблице [17] для указанных двигателей приведены тяги без учета рулевых агрегатов.

Описание конструкции

Пневмогидравлическая схема

Описание


Рис.2.1. Пневмогидравлическая схема РД-107 [4]

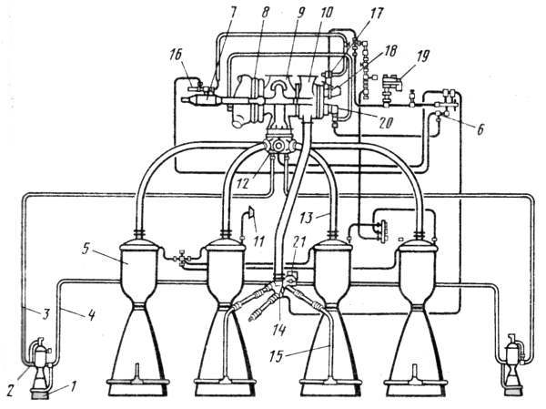
Двигатель содержит содержит рулевые камеры 1, узел поворота рулевой камеры 2, трубопроводы окислителя рулевых камер 3, трубопроводы горючего релевых камер 4, основные камеры 5, клапан азота 6, газогенератор 7, турбину 8, насос окислителя 9, насос горючего 10, датчик давления системы регулирования тяги 11, главный клапан окислителя 12, трубопроводы окислителя основных камер 13, главный клапан горючего 14, трубопроводы горючего основных камер 15, пуско-отсечной клапан перекиси водорода 16, редуктор давления подачи перекиси водорода 17, насос перекиси водорода 18, воздушный редуктор с электроприводом 19, насос жидкого азота 20, дроссель-регулятор соотношения компонентов СОБ с электроприводом 21.

Окислитель после насоса 9 через главный клапан 12 по трубопроводам 13 подается непосредственно в смесительные головки основных камер 5 через центральный патрубок, а по трубопроводам 3 через узлы поворота рулевой камеры 2 - в смесительные головки рулевых камер 1.

Горючее после насоса 10 через дроссель-регулятор соотношения компонентов СОБ 21 и трубопроводам 15 подается в кольцевые коллекторы, расположенные у выхода из основных камер 5, а по трубопроводам 4 через узлы поворота рулевой камеры 2 - в кольцевые коллекторы рулевых камер 1. Из коллекторов горючее распределяется по каналам охлаждающего тракта, через которые оно поступает в смесительные головки камер.

ТНА состоит из двух основных насосов (для горючего и окислителя), осевой двухступенчатой турбины, а также двух вспомогательных насосов. Первый из вспомогательных насосов подает жидкий азот в теплообменник. Испарившийся в теплообменнике азот используется для наддува всех баков блока. Второй вспомогательный насос питает 82%-ной перекисью водорода газогенератор, содержащий твердый катализатор, при прохождении через который перекись водорода разлагается на водяной пар и газообразный кислород. Смесь под давлением 5.4 МПа и с температурой 830 К поступает (8.8 кг/с) на лопатки турбины и затем выбрасывается через выхлопные патрубки со скоростью 450 м/с, создавая тягу 7 кН.

Зажигание топлива в камерах осуществляется пиротехническими устройствами, установленными на штативах со стороны сопел.

Рис.2.2. Пневмогидравлическая схема РД-107 [16]
(изображение увеличивается)
Рис.2.3. Пневмогидравлическая схема РД-108 [16]
(изображение увеличивается)

Работа двигателя


Рис.2.4. Пневмогидравлическая схема РД-107 [5]

Перед запуском автоматика двигателя находится в следующем положении: все электропневмоклапаны (ЭПК) обесточены; редуктор 1 настроен на давление, обеспечивающее номинальный режим работы двигателя; дроссель горючего установлен в положение, обеспечивающее номинальное соотношение компонентов; в основных и рулевых камерах установлены пирозажигающие устройства (ПЗУ) 32; клапаны горючего 24 и окислителя 23 удерживаются в закрытом положении воздухом, подаваемым в их управляющие полости через редуктор 12 и открытые ЭПК 21 и 22 от бортового баллона (дублирование на случай неисправности бортовой системы ВВД осуществляется от наземной установки); перекрывной клапан перекиси водорода 15 и клапан азота 11 закрыты под действием своих пружин; ЭПК 17, 9, 13 закрыты. При этом происходит стравливание воздуха через предохранительный клапан в выходной полости редуктора 1.

Для предотвращения попадания в зарубашечные полости и в форсуночную головку КС паров кислорода (из–за возможной негерметичности клапана окислителя) и влаги из окружающей среды с момента начала охлаждения магистрали окислителя перед заправкой ракеты начинается продувка указанных полостей небольшим расходом воздуха через обратные клапаны 25. За 3-5 мин. до запуска начинается интенсивная продувка этих полостей азотом.

Запуск двигателя на режим номинальной тяги (главная ступень тяги) осуществляется через предварительную и две промежуточные ступени для предотвращения заброса давления в КС. Выход двигателя на режим, соответствующие промежуточным ступеням тяги осуществляется изменением давления воздуха в управляющей полости регулятора расхода перекиси 10 за счет стравливания воздуха через жиклеры 8 и 14 при неизменной настройке редуктора 1.

Перед включением двигателя подается напряжение на ЭПК 9 и 13, и они открываются, обеспечивая стравливание воздуха через жиклеры 8 и 14. При этом в управляющей полости регулятора 10 устанавливается давление, равное ~ 66% от номинального, на которое настроен редуктор 1.

Включение двигателя производится подачей команды на замыкание всех ПЗУ 32. Дальнейшее протекание всех операций по запуску осуществляется автоматически. В результате воспламенения всех ПЗУ перегорают установленные в них сигнализаторы. После регистрации перегорания сигнализаторов во всех камерах подается напряжение на ЭПК 22, управляющий работой клапана окислителя 23. ЭПК 22 закрывается, воздух из управляющей полости клапана 23 стравливается в атмосферу и последний открывается на предварительную ступень, что контролируется замыканием контакта. Кислород начинает самотеком поступать к основным и рулевым КС. При условии замкнутости контакта клапана окислителя 23 через 2.5+-0.3 с после подачи напряжения на ПЗУ подается напряжение на ЭПК 21, открывающий клапан горючего 24 на предварительную ступень. Через 2.2+0.2 сек после команды на открытие клапана горючего, до того, как успеют заполнится керосином зарубашечные полости КС, подается команда на выключение продувки. При попадании керосина в КС он воспламеняется и двигатель выходит на режим предварительной ступени. При этом замыкаются контакты реле 27.

Через 9.5 с после подачи команды на ПЗУ включается контроль режима предварительной ступени. Если в течении 1+0.2 с не произойдет замыкание контактов реле 27 и контакта клапана окислителя, то поступает команда на включение первой промежуточной ступени. При этом подается питание на ЭПК 17. Он открывается и подает воздух в управляющие полости клапанов 11 и 15, открывая их. Перекись водорода начинает поступать в ГГ 19, а жидкий азот в испаритель 6 и затем на наддув всех баков.

В ГГ перекись водорода, попав на катализатор, разлагается на образовавшийся парогаз поступает на лопатки турбины 5. ТНА начинает работать. При этом увеличивается давление компонентов за насосами 2,3,4,7. Под действием возрастающего давления клапан горючего 24 открывается на главную ступень. Затем при достижении давления за насосом окислителя 4 ~2.6 МПа осуществляется разрыв болта, удерживающего клапан окислителя 23 в положении предварительной ступени, и клапан открывается на главную ступень, что контролируется соответствующими контактами. При достижении в основных КС давления ~2.45 Мпа размыкаются контакты реле давления 28, контролирующего выход двигателя на первую промежуточную ступень. Переход на режим второй промежуточной ступени осуществляется закрытием (обесточиванием) ЭПК 13. Стравливание воздуха осуществляется только через жиклер 8, что приводит к увеличениюдавления в управляющей полости регулятора 10 и, следовательно, расхода и давления подачи перекиси водорода в ГГ 19. Это влечет за собой изменение в режиме работы ТНА. Давление подачи компонентов увеличивается. Двигатель выходит на режим второй промежуточной ступени.

Перевод двигателя на режим главной ступени тяги осуществляется после отделения ракеты от стартового стола, на шестой секунде после срабатывания контакта подъема. При этом закрывается (обесточивается) ЭПК 9. Стравливание воздуха через жиклер 8 прекращается. В управляющей полости регулятора 10 устанавливается давление, соответствующее главной ступени тяги, на которое был настроен перед запуском редуктор 1. Давление подачи и расходы компонентов повышаются до номинальных значений. Двигатель выходит на режим главной ступени тяги.

Регулирование тяги в полете осуществляется при совместной работе систем РКС и СОБ. Исполнительным элементом системы РКС является редуктор точной настройки 1 с электроприводом. Для улучшения процесса регулирования в систему РКС введена обратная связь по давлению в КС, осуществляемая с помощью прецизионного датчика давления 26. Исполнительным элементом системы СОБ является дроссель горючего 18 с электроприводом.

Выключение двигателя производится ступенчато с целью уменьшения импульса последействия. Предварительно открываются ЭПК 9 и 13; при этом воздух стравливается через жиклеры 8 и 14. Двигатель переходит на режим первой промежуточной ступени. Одновременно срабатывают пироклапаны 29 рулевых камер, прекращая подачу окислителя в них. Через 1 с обесточиваются ЭПК 17, 21 и 22.При этом закрывается перекрывной клапан перекиси водорода 15. ТНА перестает работать. Давление за насосом снижается, и закрываются клапаны горючего 24, окислителя 23 и жидкого азота 11. Двигатель выключается.

Таблица 2. Циклограмма работы двигателей 8Д74, 8Д75
Время (с) от команды старт Описание (Условие)
-1 - Продувка кислородных полостей КС воздухом смомента начала захолаживания.
0 -5 мин Переход на продувку азотом.
1 0 Команда на старт - вкл автоматики, зажигание пироустройств.
2 1 Предварительная окислитель - клапан окислителя приоткрывается до повисания на разрывном болте - окислитель прямотоком без подкачки ТНА поступает в камеры (зажглись все пироустройства).
3 2.5 Предварительная горючее - клапан горючего открывается полностью - прямоток (открылись все клапаны окислителя).
4 4.7 Стоп продувки (+2.2 с от № 3).
5 9.5 Контроль давления в камерах (в течении 1 с контакты всех датчиков давления не должны размыкаться).
6 10.5 Промежуточная 1 для РД-107 (при выполнении № 5 подается перекись на ГГ в объеме промежуточной 1).
7 ~11 Рвутся разрывные болты в клапанах окислителя (контролируются контактами).
8 15 +4.5 от № 6 Контроль давления в камерах РД-107.
9 16 Перевод РД-108 на режим главной ступени и РД-107 промежуточной 2 (по выполнении 8).
10 19.5 Контроль давления в РД-108.
11 22 Перевод РД-107 на главную ступень (через 6 секунд от контакт подъема).
12 140 Перевод РД-107 на ступень промежуточная 1. Останов рулевых камер.
13 141 Останов РД-107 путем прекращения подачи перикиси водорода.
14 142 Закрытие клапанов окислителя и горючего РД-107.
15 320 Перевод РД-108 на пониженный режим.
16 321 Закрытие клапанов основных камер РД-108.
17 326 Закрытие клапанов рулевых камер РД-108 и клапана подачи перикиси.

Камера (основная)

Камера сгорания представляет собой паяно-сварную неразъемную конструкцию и состоит из форсуночной головки, средней части и сопла.

Таблица 3. Технические параметры камеры [5]
Параметр Значение Единицы
Диаметр цилиндрической части КС 430 мм
Диаметр минимального сечения сопла 165.8 мм
Степень сужения дозвуковой
части сопла
6.73
Диаметр выходного сечения сопла 720 мм
Степень расширения сверзвуковой
части сопла
18.86
Объем КС до критического сечения 0.085 м3
Расход горючего 20.8 кг/с
Расход окислителя 52.2 кг/с
Время прибывания продуктов в КС 5.59 x 10-3 с
Относительная расходонапряженность 86 x 10-6 кг/с*м2*па
Температура в КС 3520 K
Давление в КС 5.85 / 5.1 МПа
Давление в выходном сечении сопла 0.039 / МПа

Рис.3.1. Смесительная головка [4]:
  1. переднее (огневое) днище
  2. среднее днище
  3. патрубок подвода окислителя
  4. наружное днище
  5. подвод окислителя
  6. подвод горючего
  7. двухкомпонентные тангенциальные центробежные форсунки
  8. подвод горючего из тракта охлаждения камеры
  9. однокомпонентные центробежные форсунки горючего

На форсуночной головке установлены 277 двухкомпонентных тангенциальных центробежных форсунок открытого типа и 60 однокомпонентных центробежных форсунок горючего в периферийном ряду для создания пристеночного слоя с избытком горючего.

Все двухкомпонентные форсунки одинаковы по конструкции и расположены равномерно по 9 концентрическим окружностям (плюс одна форсунка в центре головки). Окислитель поступает в форсунку через 4 тангенциальных отверстия, горючее через 3. Двухкомпонентные форсунки по точности изготовления (по расходу через них) разбиты на 9 классов - для каждой из полостей ('Г' и 'О') устанавливаются по три градации расхода (размеров). Форсунки различных классов достаточно равномерно распределяются по площади головки. Такая компоновка головки позволила получить стабильные характеристики системы смесеобразования и явилась достаточно эффективным методом подавления высокочастотных пульсаций давления в КС.

Все форсунки припаяны к плоским переднему (огневому) и среднему днищам, между которыми находится полость горючего.

Полость окислителя образована средним днищем и наружным сферическим днищем. Для увеличения прочности между средним и наружным днищами установлены две кольцевые перегородки с отверстиями для прохода окислителя.

Средняя часть камеры включает в себя цилиндрический участок КС, докритическую часть и начальный участок закритической части сопла. Огневая (внутренняя) стенка средней части состоит из двух секций. Профилированная секция для улучшения условий охлаждения выполнена фрезерованной. На менее теплонапряженном цилиндрическом участке огневая стенка гладкая. Она соединена с рубашкой пайкой через гофрированную проставку.

Конструкция сопловой части аналогична. Для уменьшения габаритов двигателя подвод горючего осуществляется на некотором удалении от среза сопла. При этом на входе в охлаждающий тракт горючее делится на два потока. Один поток по каналам между рубашкой и гофрированной проставкой направляется в сторону форсуночной головки, второй по таким же каналам доходит до среза сопла и возвращается обратно по каналам, образованным гофрированной проставкой и огневой стенкой. В месте стыка гофрированных проставок оба потока соединяются и продолжают движение в сторону форсуночной головки.


Рис.3.2. Геометрический профиль камеры [16]

Все форсунки, внутренние стенки и переднее (огневое) днище выполнены из бронзы БрХ08; гофрированные проставки - из сплав № 5 (на медной основе); днища среднее и наружное, патрубки, фланцы, силовые кольца, перегородки - из стали ЭИ654; трубы, соединительное кольцо средней части и сопла - из стали Х18Н10Т; рубашка сопла - из стали 12Х2НВФА; рубашка средней части - из 21Х2НВФА. Для пайки форсунок применяется припой ПСр 37,5. Для пайки для пайки средней части и сопла применяется припой ПСрМНЦ-38.

Камера рулевого агрегата (РА)

Камера рулевого агрегата представляет собой паяно-сварную конструкцию, состоящую из форсуночной головки, средней части и сопла.

На форсуночной головке установлены 163 однокомпонентные центробежные тангенциальные форсунки (90 форсунок окислителя, 37 основных и 36 периферийных форсунок горючего). Расположение форсунок близко к сотовому. Все форсунки припаяны твердым припоем к переднему (огневому) и среднему днищам, образующим полость горючего. Конструкция средней и сопловой частей, а также оформления их стыков аналогичны основным КС.

Таблица 4. Технические параметры рулевой камеры [5]
Параметр Значение Единицы
Диаметр цилиндрической части КС 180 мм
Диаметр минимального сечения сопла 71.5 мм
Степень сужения дозвуковой
части сопла
6.34
Диаметр выходного сечения сопла 310 мм
Степень расширения сверзвуковой
части сопла
18.8
Объем КС до критического сечения 0.0085 м3
Расход горючего 4.15 кг/с
Расход окислителя 8.55 кг/с
Время прибывания продуктов в КС 2.93 x 10-3 с
Относительная расходонапряженность 92 x 10-6 кг/с*м2*па
Давление в КС 5.4 МПа


Рис.3.3. Геометрический профиль камеры РА [16]

Узлы подвода горючего и окислителя

Узел подвода окислителя является одновременно опорой КС, обеспечивающей возможность ее качани, и устройство, осуществляющим подвод окислителя от неподвижного трубопровода к качающейся рулевой КС.

Узел подвода горючего, кроме того, обеспечивает фиксацию рулевой КС по оси качания; в его состав входят рычаг для присоединения привода качания рулевой КС и устройство связи камеры с датчиком обратной связи системы качания.

Турбонасосный агрегат (ТНА)

ТНА состоит из турбины, насосов окислителя, горючего, перекиси водорода и жидкого азота, а также испаритель жидкого азота.

Рис.4. ТНА (изображение увеличивается) [8]:
  1. подвод горючего
  2. подвод окислителя
  3. отвод горючего
  4. отвод окислителя
  5. подвод парогаза
  6. отвод отработанного парогаза
  7. жидкий азот
  8. перекись водорода
  9. жидкий азот
  10. газообразный азот

Турбина - осевая, двухступенчатая, высокоперепадная, активного типа с консольным расположением ротора, работает на продуктах разложения перекиси водорода.

Насос окислителя шнекоцентробежный с двухсторонним подводом компонента. Выходная рабочая полость выполнена в виде спирального отвода (улитки) и комбинации с диффузором.

Турбина и насос окислителя имеют общий вал, насос горючего имеет свой вал. Валы расположены соосно и соединены рессорой.

Крутящий момент на валы вспомогательных насосов перекиси водорода и жидкого азота передается через мультипликатор, ведущая шестерня которого расположена консольно на валу насоса горючего. Применение мультипликатора позволило использовать для вспомогательных насосов более высокие частоты вращения, что повысило экономичность, уменьшило вес и габариты как насосов перекиси водорода и жидкого азота, так и всего ТНА. Вспомогательные насосы центробежные, имеют односторонний подвод, преднасосов нет.

В ТНА применяются комбинированные уплотнения, состоящие из фторопластовых (в насосе окислителя) и резиновых (в насосе горючего), манжет чугунных разрезных колец, отражателя и лабиринтов.

Смазка и охлаждение шариковых подшипников, применяемых в ТНА РД-107, осуществляется различно: в насосе окислителя - небольшим расходом жидкого кислорода из полости высокого давления через специальные сверления, в насосе горючего - с помощью специальной консистентной смазки, стойкой к горючему, в насосе перекиси водорода тоже консистентной смазкой, а в насосе жидкого азота – жидким азотом.

В полость мультипликатора заливается специальная жидкая смазка.


Рис.5. Схема ТНА [5]

Таблица 5. Технические параметры ТНА [5]
Параметр Значение Единицы
окислитель горючее перекись водорода жидкий азот
Давление на выходе из насоса 7.84 9.26 8.03 3.82 МПа
Расход компонента через насос 226 91.4 8.8 1.75 кг/с
К.п.д. насоса 0.67 0.65
Скорость вращения вала 8300 8300 18100 18100 мин-1
Мощность турбины 3.827 МВт
Температура на входе в турбину 833 К
Давление на входе в турбину 5.34 МПа
Давление на выходе из турбины 0.14 МПа
Количество ступеней турбины 2
К.п.д. турбины 0.57
Сухая масса ТНА 237 кг

Газогенератор


Рис.6. Газогенератор [4]

Газогенератор предназначен для выработки рабочего тела для ТНА. В нем происходит каталитическое разложение маловодной перекиси водорода , в результате чего образуется парогаз - смесь водяного пара и газообразного кислорода.

В качестве катализатора используется твердый катализатор марки 'Ж-30-С-О', представляющий собой смесь зерен неправильной формы размером от 6 до 10 мм. Зерна представляют собой спеченное из карбонильного порошкового железа, натриевой селитры и соды пористое окисленное железо. 50 % общего количества зерен покрывается активным слоем, состоящим из водного раствора перманганата калия и соды. Эти зерна и являются соответственно катализатором.

Наличие 2-х пакетов катализатора позволяет увеличить поверхность контакта перекиси водорода с катализатором при небольшом диаметре ГГ и уменьшить перепад давления на катализаторе. Перекись водорода через жиклер 1 подается в полость между пакетами 2. Неразложившаяся в пакетах перекись доразлагается в устанавливаемых для этой цели сетках и шнеках. ГГ заключен в теплоизолирующий кожух.

Таблица 6. Параметры газогенератора
Параметр Значение Единицы
Давление на выходе из ГГ 5.35 МПа
Расход перекиси водорода через ГГ 8.8 кг/с
Удельная нагрузка 3.8 кг перекиси/кг катализ.
Время работы с обеспечением выходных параметров >140 с

Отличие двигателя РД-108 от РД-107

В отличие от двигателя РД-107 запуск двигателя РД-108 производится с предварительной ступени непосредственно на режим главной ступени тяги. Соотношение компонентов топлива в отличие от двигателя РД-107 регулируется с помощью дросселя окислителя. За несколько секунд до выключения двигателя РД-108 переводится на конечную ступень тяги, на которой работают только рулевые КС, и при том – на пониженном режиме.

Большая часть агрегатов двигателя РД-108 унифицирована с агрегатами двигателя РД-107, что позволило уменьшить затраты на разработку и доводку двигателя. Отличие определяется в основном пониженным режимом работы на главной ступени тяги.

Основные КС отличаются лишь уменьшенным расходом горючего в периферийные форсунки; ТНА – лишь наружными диаметрами крыльчаток насосов.

Агрегаты автоматики в ДУ РД-108 и РД-107 в основном одинаковые. Исключение составляют клапаны горючего и окислителя, представляющие собой блоки из двух клапанов: один клапан управляет работой основных КС, другой - рулевых.

Модификации

В 1959 г. был создан Приволжский филиал (филиал № 2) ОКБ-456. С 1960 г., т.е. через год после создания этого филиала, здесь начались работы по созданию новых модификаций двигателей на базе двигателей РД-107 и РД-108.

К настоящему времени были созданы 18 модификаций базовых двигателей РД-107 и РД-108. Основные модернизации двигателя РД-107: 8Д728 (8Д74К), 11Д511 и 14Д22; основные модернизации двигателея РД-108: 8Д75К, 8Д727, 11Д512 и 14Д21.

Двигатели 8Д728 (8Д74К) и 8Д75К

В 1960 г. проводилась отработка двигателей 8Д74К и 8Д75К - первых модификаций двигателей РД-107 (8Д74) и РД-108 (8Д75).

Отличия двигателя 8Д74К от 8Д74 заключались в следующем: на двигателе 8Д74К для уменьшения предстартовых расходов было сокращено число промежуточных ступеней. Запуск двигателя 8Д74К осуществлялся через две промежуточные ступени вместо трех, а выключение - через первую промежуточную ступень. На двигателе 8Д75К увеличивалось время работы на режиме конечной ступени (22 с вместо 10 с на двигателе 8Д75). К началу отработки двигателей 8Д74К и 8Д75К были завершены работы по проверке разработанных мероприятий, направленных на повышение устойчивости рабочего процесса в камерах двигателей. На основании положительных результатов испытаний было сделано заключение о возможности внесения соответствующих изменений в документацию на сборку и испытания двигателей 8Д74К и 8Д75К. Эти двигатели устанавливались на РН 8К78. В дальнейшем двигателю 8Д74К был присвоен индекс 8Д728.

Двигатели 8Д727 (8Д75М) и 8Д727К (8Д75Ф)

Для увеличения полезной нагрузки РН 8К78 ОКБ-456 в 1961 г. предложило увеличить тягу двигателя 8Д75К на 4 т путем форсирования его на 5% по давлению газов в камерах сгорания, что должно было привести к увеличению удельного импульса тяги на земле на 2.9 с. Работы по созданию двигателя 8Д75К с форсированием номинального режима по давлению газов в камерах сгорания проводились в 1961 - 1963 гг. Двигатель отрабатывался в двух модификациях: 8Д75М - двигатель 8Д75, форсированный на 5% по давлению в камерах сгорания, с отключением с номинального режима без конечной ступени; 8Д75Ф - двигатель 8Д75, форсированный на 5% по давлению в камерах сгорания, с отключением через конечную ступень. В 1961 г. двигателю 8Д75М был присвоен индекс 8Д727, а двигателю 8Д75Ф - индекс 8Д727К. Двигатели 8Д727К совместно с двигателями 8Д728 устанавливались на РН 8К78 и 8К78М, а двигатели 8Д727 совместно с двигателями 8Д728 - на РН 11А57 и 11А511.

Двигатели 11Д511, 11Д512

В 1968 г. в Приволжском филиале началась отработка двигателей 11Д511, 11Д512 на базе двигателей 8Д727, 8Д728. Конструктивные отличия двигателей 11Д511, 11Д512 от двигателей 8Д727 и 8Д728 заключались в следующем: для обеспечения новой программы регулирования были доработаны агрегаты, относящиеся к системе регулирования двигателя; расширен диапазон работоспособности редуктора точной настройки; в связи с тем, что изменение программы регулирования приводило к увеличению продолжительности работы двигателей на режиме форсирования, на двигатели 11Д512 были установлены камеры с большим запасом устойчивости. Отработка этих двигателей была завершена в 1969 г., а в 1970 г. были проведены их ЛКИ.

Двигатель 11Д511ПФ (РД-117ПФ)

В 1979 г. в соответствии с техническим заданием в Приволжском филиале была проведена отработка двигателя 11Д511ПФ, разработанного на базе двигателя 11Д511. Модернизация двигателя 11Д511 проводилась с целью повышения энергетических характеристик за счет использования более эффективного горючего синтин вместо керосина Т-1.

Конструктивно двигатель 11Д511ПФ отличается от двигателя 11Д511 следующим: было увеличено давление в камерах с 54.2 до 55.0 атм; в связи с повышением интенсивности тепловых потоков в стенки камер введено спиральное оребрение трактов охлаждения камер; при выключении двигателя была введена задержка закрытия клапана горючего на 1.2 с. Замена горючего Т-1 на синтин привела к увеличению удельной тяги двигателя на земле на 6.5 с.

Доводочные испытания двигателя были проведены в период с декабря 1979 г. по май 1981 г. Всего на синтине было проведено 176 испытаний 16 двигателей, включая завершающие доводочные (ЗДИ) и межведомственные испытания (МВИ), и 84 автономных испытания 38 рулевых агрегатов.

ЛКИ двигателя 11Д511ПФ были проведены в 1982-1983 гг в составе РН 11А511У2 ("Союз-У2"), отличающейся от 11А511У ("Союз-У") использованием на второй ступени (блок А) синтетического керосина (синтина) вместо обычного. При этом на первой ступени ракеты "Союз-У2" (блоки Б/В/Г/Д) использовался двигатель 11Д512 (РД-118) и обычный керосин.

Вследствие более жестких параметров нагружения двигателя при использовании синтетического горючего, двигатель 11Д511ПФ должен обладать бóльшим запасом устойчивости по отношению к ВЧ-колебаниям.

Из опыта многолетнего серийного изготовления двигателей была выявлена чувствительность запаса устойчивости рабочего процесса в камерах на режиме главной ступени к нарушениям при изготовлении двухкомпонентных центробежных форсунок (как правило - к нарушениям при изготовлении тангенциальных отверстий в форсунках) (см. также Двигатели 14Д22, 14Д21). По этой причине из серии камер по результатам холодных проливок водой производился отбор тех из них, у которых гидравлические характеристики смесительной головки находились в заданном диапазоне. При этом отбор начинался на стадии изготовления отдельных форсунок и сборки смесительных головок. Камеры с выбранными таким образом смесительными головками использовались в составе двигателя 11Д511ПФ (РД-117ПФ).

К 1996 году выпуск двигателей для ракеты "Союз" на Заводе имени М.В.Фрунзе в Самаре значительно сократился, что сделало невозможным отбор двигателей, способных работать на синтетическом горючем. Для продолжения эксплуатации ракеты "Союз-У2" необходимо было либо повысить уровень технологии изготовления, либо провести дополнительные исследования для выяснения природы ВЧ-колебаний и внести соответствующие изменения в конструкцию смесительной головки.

В 1996 году в условиях острой нехватки финансов было принято решение о прекращении эксплуатации ракеты 11А511У2 ("Союз-У2"). Дополнительным фактором в пользу такого решения стала высокая стоимость производства синтина и его высокая токсичность.

Двигатели 14Д22, 14Д21

После снятия с производства двигателя 11Д511ПФ встал вопрос о его замене двигателем с повышенными энергетическими характеристиками и с более высоким запасом устойчивости рабочего процесса в камерах. К этому времени в Приволжском филиале уже проводились работы по повышению устойчивости рабочего процесса в камерах сгорания и повышению удельного импульса тяги двигателей типа 11Д511 и 11Д512 за счет улучшения смесеобразования в камерах путем использования однокомпонентных форсунок. Эти работы были связаны с разработкой по техническим заданиям ЦСКБ двигателей 14Д21 и 14Д22, прототипами которых являлись двигатели 11Д511, 11Д512.

В ходе многолетнего серийного изготовления различных модификаций двигателей РД-107/108 выявилась чувствительность запаса устойчивости рабочего процесса в их камерах на режиме главной ступени к нарушениям при изготовлении двухкомпонентных центробежных форсунок. Периодически имели место как отдельные случаи, так и групповые проявления высокочастотной неустойчивости при технологических испытаниях двигателей в процессе их изготовления.

Проводившиеся в этих случаях исследования показывали, что снижение запаса устойчивости являлось, как правило, следствием нарушений при изготовлении тангенциальных отверстий в форсунках и нарушения из-за этого стабильности гидравлических характеристик смесительных головок. В силу специфики технологии изготовления и контроля, нарушения носят трудновыявляемый и трудновоспроизводимый характер.

Для устранения указанных недостатков на базе смесительной головки камеры двигателя 8Д716 (РД-111) в Приволжском филиале была спроектирована новая смесительная головка, в которой использованы однокомпонентные центробежные форсунки горючего и окислителя, часть из которых выдвинута в огневое пространство на 30 мм и образует антипульсационные перегородки в виде замкнутого четырехугольного контура в центре смесительной головки с расходящимися к периферии восемью лучами. Таким образом, начальная зона горения в камере разделяется на девять участков, что препятствует развитию радиальных и тангенциальных поперечных колебаний давления и обеспечивает устойчивость рабочего процесса.


Рис.7. Смесительная головка с антипульсационными перегородками
(изображение увеличивается) [6]

В качестве дополнительной меры для повышения устойчивости рабочего процесса форсунки окислителя и горючего смесительной головки разбиты по расходам на три класса с разбросом расходов для первого и третьего классов относительно второго на ±10%.

Для улучшения условий охлаждения камеры с разработанной смесительной головкой было принято решение каналы тракта охлаждения в ней от критической части сопла до входа в смесительную головку выполнить не прямыми, а спиральными с углом наклона спирали к оси камеры 15 градусов.

Повышение удельного импульса тяги двигателей (на величину 6.45 с для РД-107 и 4.46 с для РД-108) происходит за счет улучшения полноты сгорания, а также частично за счет уменьшения доли суммарного расхода, подаваемого в пристеночный слой с низкими значениями соотношения компонентов топлива, а также за счет увеличения удельного импульса тяги камер рулевых агрегатов (РА). Последнее достигается небольшим перераспределением расхода компонентов, подаваемого в двигатели и РА, для изменения весового соотношения компонентов в камерах РА с 2.06-2.08 до 2.4, что и обеспечивает прирост удельного импульса камер РА на 2.3-3.3 с.

Повышение давления в камерах модернизированных двигателей потре бовало перенастройки номинальных значений давления датчиков обратной связи, а на двигателе РД-108 и смещения диапазона его измерений в сторону больших значений. На двигателе РД-108 в связи с невозможностью полностью компенсировать увеличение гидросопротивления охлаждающего тракта камер (из-за введения спиральных каналов охлаждения) снижением перепада давления на дросселе горючего за насосом, для сохранения величины соотношения компонентов топлива за счет уменьшения диаметра расходной шайбы окислителя за насосом было увеличено гидросопротивление магистрали окислителя на 4.8 кг/см2. Для обеспечения же требуемого суммарного расхода компонентов дополнительно была увеличена частота вращения ротора насосов на 100 об/мин за счет увеличения расхода парогаза через турбину ТНА на 0.1 кг/с.

Кроме того, если серийные двигатели настраиваются на номинальный режим по величине суммарного расхода компонентов топлива, то на модернизированных двигателях предусмотрена настройка на номинальное давление в камерах, что повышает точность настройки и ее технологичность. В связи с требованиями технического задания о сохранении неизменной тяги двигателя РД-108 на промежуточной ступени давление в камерах на этом режиме было понижено на 1.4 кг/см2.

Помимо отмеченного выше повышения соотношения компонентов в камерах РА до 2.4, в соответствии с требованием технического задания в РА, устанавливаемых в двигательную установку II ступени, исключен пироклапан отсечки окислителя, которая в составе ДУ обеспечивается закрытием клапана окислителя двигателя при выключении.

На этапе предварительной проверки работоспособности камеры с новой смесительной головкой после испытаний на значительном количестве выступающих форсунок горючего отмечалось обгорание торцев на величину до 17 мм. Введение запайки зазоров резко сократило количество и интенсивность обгорания форсунок, а по мере отработки и стабилизации технологии запайки в ходе доводочных испытаний данный дефект был практически полностью устранен.

Второй особенностью состояния материальной части в процессе отработки явились деформация и эрозия огневой стенки в районе коллектора тракта охлаждения, расположенного непосредственно перед критическим сечением в сужающейся части сопла, и сварного шва в критическом сечении (см. рис. 8.1). Проявление дефектов было связано с резким торможением жидкости в коллекторе тракта охлаждения и снижением ее скорости у шва критического сечения при максимальных зазорах между зубом соединительного кольца стальной рубашки и сварным швом. Для устранения недостатка было решено (см. рис. 8.2):

  • исключить коллекторы тракта охлаждения в зоне втекания в критическое сечение;
  • уменьшить зазор между выступом зуба кольца стальной рубашки и сварным швом критического сечения до величины 1.3-1.7 и в связи с этим изменить оребрение охлаждающего тракта в зоне втекания в критическое сечение таким образом, чтобы обеспечить некоторое повышение местной скорости охлаждающей жидкости.
  • ввести более жесткие требования к стыковке, выполнению и зачистке сварного шва критического сечения.


Рис.8.1. Штатная схема охлаждения камеры [6]

Рис.8.2. Усовершенствованная схема охлаждения камеры [6]

Двигатели 14Д22ХЗ, 14Д21ХЗ

Особенностью ракеты Р-7 и ее модификаций является пакетная схема, при которой во время пуска осуществляется зажигание компонентов топлива одновременно в 32 камерах двигателей двигатели первой и второй ступеней.

В существующей конструкции используется пиротехническая система зажигания, представляющая собой пирозаряд, устанавливаемый в огневую полость камеры с помощью деревянного штатива вручную, при подготовке РН к пуску. Достаточно надежная сама по себе пиротехническая система зажигания в данном конкретном применении (большое количество камер) зависима от качества работ, проводимых боевым расчетом на стартовой позиции.

Возможны повреждения как самих штативов, так и элементов их крепления к камерам в процессе установки, нарушения целостности подводящих электрокабелей при отводе кабины обслуживания и т.п. Любой из подобных дефектов, если он не будет своевременно обнаружен и устранен, может привести к нарушению условий воспламенения в одной или нескольких камерах вплоть до задержки воспламенения от собственного пиропатрона и воспламенения от факела рядом стоящей камеры.

С целью исключения возможности проявления подобных явлений предложено на двигателях 14Д22 и 14Д21 заменить пиротехническую систему зажигания на химическую, аналогичную применяемой в более современных двигателях РД-120, РД-170 и РД-180 (см. РД-170. Работа двигателя).


Рис.9. Упрощенная схема системы химического зажигания [7]

Система химического зажигания представляет собой герметичный трубопровод, ограниченный мембранами свободного прорыва, между которыми находится самовоспламеняющееся с кислородом пусковое горючее, в пусковой бачок из которого азотом вытесняется основное горючее, давлением которого, в свою очередь, прорываются мембраны и пусковое горючее вытесняется в камеры, соответствующие агрегаты автоматики и трубопроводы.

Проведенный анализ показал, что для данного типа двигателей может бытьисполь зована система химического зажигания компонентов топлива двигателя 11Д123 (РД-120). Подобное заимствование отработанных и серийно изготавливаемых агрегатов позволяет существенно снизить технический риск, стоимостьи сроки внедрения системы химического зажигания в двигатели 14Д22/14Д21.


Рис.10. Штуцер подвода пускового горючего в основную камеру [7]
Подача пускового горючего в основную камеру двигателей 14Д22/14Д21 осуществляется через четыре специальных штифта, впаянных вместо штатных штифтов в силовое кольцо огневого днища на периферии смесительной головки.

Штифты имеют сквозной канал с калиброванным отверстием, через который пусковое горючее подается в камеру сгорания под углом 45 градусов к плоскости огневого днища. Над штифтами к силовому кольцу приварены четыре штуцера, к которым присоединяются магистрали пускового горючего для подачи его в камеру сгорания.


Рис.11. Общий вид рулевой камеры со штуцером подвода пускового горючего [7]
Подвод пускового горючего в рулевую камеру осуществлялся через биметаллический штуцер, вваренный в стенку нижней части камеры вблизи смесительной головки. Выходное калибровочное отверстие биметаллического штуцера направ- лено в сторону критического сечения камеры под углом 20 градусов к плоскости огневого днища.

Учитывая необходимостьобеспечения качания рулевых камер на угол 45 градусов была разработана и в дальнейшем испытана в составе двигателя новая конструкция узла подвода горючего в рулевую камеру.


Рис.12. Узел подвода горючего в рулевую камеру (изображение увеличивается) [7]

Трубопровод магистрали пускового горючего размещен во внутренней полости узла подвода основного горючего. Одним концом этот трубопровод жестко закреплен на выходном патрубке цапфы узла подвода и соединен с выходным штуцером, обеспечивающим подвод пускового горючего, а по его окончании—подвод основного горючего.

Другой конец трубопровода пускового горючего свободно расположен в направляющем отверстии фланца узла подвода и при качании рулевой камеры совершает в этом отверстии перемещения на заданный угол.

Разработанная система химического зажигания компонентов топлива в камерах двигателей РД-107, РД-108 при всех испытаниях обеспечила надежное воспламенение компонентов топлива с плавным нарастанием давления в камере.

Запуск, работа двигателей на режимах предварительной, промежуточной и главной ступеней осуществлялисьбез замечаний с обеспечение динамических характеристик, лежащих в статистических диапазонах двигателей с пиротехнической системой зажигания.

Дополнительная подача горючего через систему химического зажигания в камеры двигателей не повлияла на удельные параметры, а также на устойчивостьрабочего процесса в камерах.

Проведенный объем теоретических и экспериментальных работ позволяет внедритьдвиг атели РД-107, РД-108 с химической системой зажигания в эксплуатацию в составе РН типа "Союз", что позволит существенно повысить ее эксплуатационные характеристики и безопасностьобслуживания на стартовой позиции при подготовке к пуску.

Другие модификации

В 1970 г. были проведены работы по определению возможности перевода двигателей типа 11Д511, 11Д512 с горючего Т-1 на горючее РГ-1. Возможность перехода к использованию горючего РГ-1 рассматривалась как в плане унификации горючих на различных двигателях, так и в плане увеличения удельного импульса тяги двигателей. Сравнительные испытания показали, что при переводе двигателей с горючего Т-1 на РГ-1 не наблюдается увеличения удельных импульсов тяг камер сгорания. Дальнейшие работы по переходу на горючее РГ-1 были прекращены.

В связи с вероятным прекращением выработки горючего Т-1 Миннефтехимпром в 1988 г. предложил аналог этого горючего, получаемый путем смешения горючих Т-6 и РТ, именуемый в дальнейшем смесевым горючим Т-1с. Работы по проверке возможности замены Т-1 на Т-1с проводились без изменения конструкции двигателей. На этапе доводочных испытаний и ЗДИ было проведено 56 испытаний 5 двигателей различных типов. Испытания показали, что удельный импульс тяги при работе двигателей на горючем Т-1с не изменяется. Двигатели показали хорошую работоспособность и устойчивость работы камер сгорания на всех режимах, за исключением двигателя 8Д74, на котором при температуре горючего на входе в насос около -40 °С в камерах сгорания был отмечен рост интенсивности вибрационно-пульсационного процесса. МВИ подтвердили, что при использовании горючего Т-1с двигатели типа 11Д511 и 11Д512 соответствуют требованиям по основным характеристикам. Для двигателей 8Д74 было введено ограничение по температуре горючего Т-1с на входе в насос (не ниже -30 °С).

Использованные источники информации

  1. РД-107/108 на сайте НПО Энергомаш
  2. Гудилин В.Е. Ракетный комплекс Р-7, Создание первых искусственных спутников Земли, Ракета-носитель "Союз-2",
  3. Козлов Д.И. История создания и развития ракеты Р-7. Доклад на конференции Королёвские чтения.
  4. Конструкция и проектирование жидкостных ракетных двигателей. Г.Г.Гахун, В.И.Баулин, В.А.Володин и др.; Под общ. ред. Г.Г.Гахуна. - М. : Машиностроение, 1989
  5. Потехин Е.С. Учебно-методическое пособие по лабораторной работе "Изучение изделий РД-107-РД-108". Балтийский Государственный Технический Университет, Санкт-Петербург 1997
  6. Ганин А.А., Каменский С.Д., Каторгин Б.И., Фатуев И.Ю., Чванов В.К. Повышение устойчивости рабочего процесса и энергетических характеристик ЖРД РД-107, РД-108 путем внедрения новой форсуночной головки. Вестник СамГУ — Естественнонаучная серия. 2003. Второй спец. выпуск.
  7. Ганин А.А., Каторгин Б.И., Фатуев И.Ю., Чванов В.К. Совершенствование системы зажигания компонентов топлива двигателей РД-107, РД-108. Вестник СамГУ — Естественнонаучная серия. 2004. №2(32).
  8. Энциклопедия КОСМОНАВТИКА. - М.: Советская энциклопедия, 1985.
  9. Добровольский М.В. Жидкостные ракетные двигатели. - М.: МГТУ, 2005.
  10. Дарон А.Д. К истории разработки двигателей первых ступеней РН "ВОСТОК".
  11. НПО Энергомаш: История предприятия.
  12. Лантратов К. О подготовке к запуску "Союза ТМ-24".
  13. Афанасьев И. «Корни» двигателей для «Семерки» (часть 1, часть 2). «Новости космонавтики» №№ 07,08/2005г.
  14. George P. Sutton "History of Liquid Propellant Rocket Engines"
  15. Демонстрационный зал Энергомаш
  16. Альбом конструкций ЖРД, часть третья. М., Воениздат, СССР, 1969 г.
  17. Основные двигатели разработки НПО Энергомаш
  18. Ракета-носитель «Союз-2». Первый пуск
  19. РД-107/108 на сайте ОАО Моторостроитель
  20. РД-107А/108А на сайте ОАО Моторостроитель
  21. НПО «Энергомаш» имени академика В.П.Глушко. Путь в ракетной технике. Под ред. Б.И.Каторгина. М., Машиностроение-Полет, 2004.