LPRE.DE announces the release of a new version of Rocket Propulsion Analysis (RPA), a free tool for analysis of liquid propellant rocket engines.

ЖРД РД-180

Предыстория

В начале 1996г проект двигателя РД-180 НПО Энергомаш был признан победителем конкурса на разработку и поставку двигателя первой ступени для модернизированной РН "Атлас" американской компании Локхид Мартин. Это двухкамерный двигатель с дожиганием окислительного генераторного газа, с управлением вектором тяги благодаря качания каждой камеры в двух плоскостях, с возможностью обеспечения глубокого дросселирования тяги двигателя в полете. Данная конструкция базируется на хорошо проверенных конструкциях узлов и элементов двигателей РД-170/171. Создание мощного двигателя первой ступени осуществлено в сжатые сроки, а отработка – на малом количестве материальной части. Подписав контракт на разработку двигателя летом 1996 г., уже в ноябре 1996 г. было проведено первое огневое испытание двигателя-прототипа, а в апреле 1997 г. – огневое испытание штатного двигателя. В 1997-1998 гг успешно проведена серия огневых испытаний двигателя в составе ступени РН в США. Весной 1999 г. завершена сертификация двигателя для использования в составе РН "Атлас 3". Летом 2001г была завершена сертификация двигателя для использования в составе РН "Атлас 5".

Краткая хронология создания двигателя

13 января 1996 г. - НПО “Энергомаш” объявлено победителем конкурса на разработку ЖРД для модернизированной РН «Атлас IIAR » компании Локхид Мартин (США).

5 июня 1996 г. - НПО "Энергомаш" и фирма "Pratt&Whitney" подписали контракт о совместной разработке и изготовлении опытных образцов, испытании и сертификации нового российского бустерного двигателя РД-180. 14 июля 1996 года данный контракт вступил в силу после получения одобрения соответствующих правительственных ведомств Российской Федерации.

15 ноября 1996 г. - проведено первое огневое испытание ЖРД РД-180, разрабатываемого для первой ступени американской РН "Атлас IIAR", на стенде НПО “Энергомаш” в Химках.

29 июля 1998 г. - проведено первое огневое испытание ЖРД РД-180 в составе ступени РН "Атлас III" компании Локхид Мартин на стенде Центра Маршалла в Хантсвилле, США.

2 января 1999 г. - первый серийный двигатель РД-180 отправлен в США.

31 марта 1999 г. - завершение сертификационных испытаний ЖРД РД-180.

24 мая 2000 г. - первый пуск РН "Атлас 3А" с двигателем РД-180.

2001 г. - проведены сертификационные испытания РД-180 для использования в составе РН "Атлас 5".

2002 г. - проведены сертификационные испытания РД-180 для использования в тяжелом варианте РН "Атлас 5".

21 февраля 2002 г. - первый пуск РН "Атлас 3В" с двигателем РД-180.

21 августа 2002 г. - первый пуск РН "Атлас 5" с двигателем РД-180.

27 сентября 2002 г. - подписано лицензионное соглашение на экспорт в США полного комплекта конструкторской, технологической и испытательной документации по двигателю РД 180.

4 декабря 2002 г. - получены лицензии на экспорт полного комплекта технической документации на двигатель РД 180 по лицензионному соглашению.

Общие сведения

Двигатель выполнен по замкнутой схеме с дожиганием окислительного генераторного газа после турбины.
Компоненты топлива: окислитель - жидкий кислород, горючее - керосин.

Двигатель состоит из двух камер, турбонасосного агрегата (ТНА), бустерного насосного агрегата горючего (БНАГ), бустерного насосного агрегата окислителя (БНАО), газогенератора, блока управления автоматикой, блока баллонов, системы приводов автоматики (СПА), системы рулевых приводов (СРП), регулятора расхода горючего в газогенераторе, дросселя окислителя, дросселя горючего, пуско-отсечных клапанов окислителя и горючего, двух ампул с пусковым горючим, пускового бачка, рамы двигателя, донного экрана, датчиков системы аварийной защиты, теплообменника для подогрева гелия на наддув бака окислителя.

При создании двигателя РД-180 в связи с уменьшением вдвое расхода компонентов топлива по сравнению с прототипом РД-170 необходимо было перепроектировать ТHA и ряд агрегатов автоматики. По первоначальной оценке унификация двигателей РД-180 и РД-170 составляла 70…75 %. Однако в процессе отработки двигателя РД-180 по техническому заданию "Локхид Мартин" были найдены более совершенные, нежели примененные в двигателе РД-170, конструкторские решения по ряду агрегатов, в том числе изменена конструкция направляющего аппарата насосов, улучшены условия работы подшипников ТНА, увеличен к.п.д. агрегатов подачи, разработан новый подбаковый разделительный клапан. Кроме того, фланцевая конструкция газогенератора заменена сварной, а схема двигателя упрощена. В связи с этими работами степень унификации двигателей РД-180 и РД-170 существенно снизилась. По существу, двигатель РД-180 является новой разработкой с использованием в качестве базового варианта двигателя РД-170.

Таблица 1. Технические параметры двигателя
Параметр Значение Единицы
Тяга
у Земли 390.2 т
3828 кН
в пустоте 423.4 т
4152 кН
Пределы дросселирования тяги 100-47 %
Удельный импульс тяги
в вакууме 337.8 с
на уровне моря 311.3 с
Давление в камере сгорания26.67МПа
Коэффициент соотношение компонентов 2.72 m(ок)/m(г)
Масса двигателя
сухого 5330 кг
залитого 5850 кг
Габариты
высота 3580 мм
диаметр в плоскости среза сопел 3200 мм


Рис.1. Двигатель РД-180 (изображение увеличивается)

Описание конструкции

Пневмогидравлическая схема

Описание


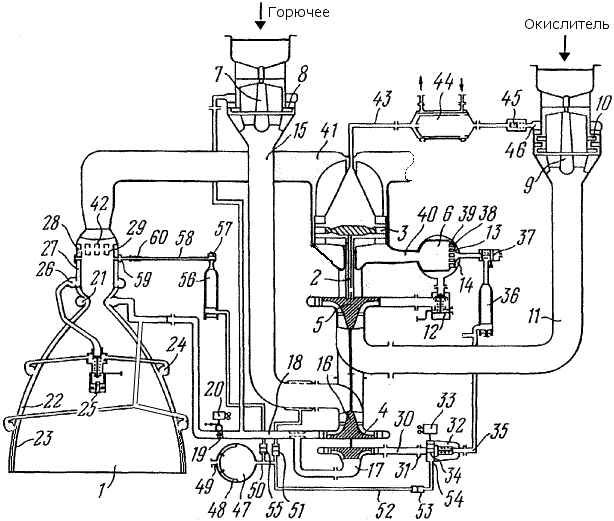
Рис.2.1. Пневмогидравлическая схема [9]
(адаптировано; условно показана 1 КС)

Рис.2.2. Пневмогидравлическая схема [1]
(изображение увеличивается)

Двигатель содержит содержит две камеры сгорания 1, турбонасосный агрегат 2, состоящий из турбины 3, двухступенчатого насоса горючего 4 и одноступенчатого насоса окислителя 5, газогенератор 6, бустерный насос горючего 7, приводом которого является гидравлическая турбина 8, и бустерный насос окислителя 9, приводом которого является газовая турбина 10.

Бустерный насос окислителя (БНАО) 9 через трубопровод 11 соединен со входом насоса окислителя 5, выход которого через пускоотсечной клапан 12 соединен с коллекторной полостью 13 смесительной головки 14 газогенератора 6. На входе БНАО установлен фильтр окислителя.

Бустерный насос горючего (БНАГ) 7 через трубопровод 15 соединен со входом первой ступени 16 насоса горючего 4. Первая ступень насоса горючего 16 соединена со входом второй ступени 17 насоса горючего и через трубопровод 18, в котором установлен дроссель 19 с электроприводом 20, соединена с коллектором 21 камеры сгорания 1, из которого горючее распределяется по каналам 22 регенеративного охлаждения камеры сгорания 1. На входе БНАГ установлен фильтр горючего.

Каналы 22 регенеративного охлаждения сопла 23 через коллектор 24 соединены с пускоотсечным клапаном 25. Выход этого клапана соединен с коллектором 26, размещенным на цилиндрической части камеры сгорания. Выход коллектора 26 через регенеративные каналы 27 охлаждения цилиндрической части камеры сгорания соединен с полостью горючего 28 смесительной головки 29 камеры сгорания 1.

Вторая ступень 17 насоса горючего 4 (через который проходит 20% от общего расхода горючего) через трубопровод 30 соединена с основным входом 31 регулятора тяги 32, управляемого электроприводом 33 и имеющим на входе обратный клапан 34. Выход 35 регулятора тяги 32 соединен с ампулой 36, заполненной пусковым горючим триэтилалюминием Аl(С2Н5)з. Выходы из этих ампул через пускоотсечные клапаны 37 соединены с полостью горючего 38 смесительной головки 39 газогенератора 6. Выход газогенераторов 40 соединен с турбиной 3, выход которой через трубопроводы 41 соединен с полостью 42 смесительных головок 29 камер сгорания 1.

Кроме того, выход из турбины 3 через трубопровод 43, в котором установлен теплообменник 44 и клапан давления 45, соединен с коллектором турбины 46 привода бустерного насоса 9 окислителя.

Пневмогидравлическая схема ЖРД содержит также систему запуска, которая включает пусковой бачок 47 с разделительной мембраной 48, патрубок 49 подвода газа высокого давления и выходной патрубок 50. Выходной патрубок 50 пускового бачка 47 через заправочный клапан 51 соединен с трубопроводом 15 подвода горючего от бустерного насоса горючего 7. Кроме того, выходной патрубок 50 с одной стороны через трубопровод 52, в котором установлен обратный клапан 53, соединен со вторым входом 54 регулятора тяги 32, через который осуществляется запуск двигателя, а с другой стороны - через обратный клапан 55 - соединен с ампулой 56, заполненной пусковым горючим триэтилалюминием Аl(С2Н5)з, выход которой через клапан 57 соединен с магистралью 58 подвода пускового горючего к форсункам зажигания 59 камеры сгорания. В магистрали 58 установлен жиклер 60, обеспечивающий дозированную подачу пускового горючего к форсункам зажигания.

Для уменьшения импульса последействия пускоотсечные клапаны горючего установлены между охлаждающими трактами сопла и камеры сгорания (клапаны 25), а также перед коллектором второго и третьего поясов завес.

Пневмоклапаны приводятся в действие гелием от блока баллонов высокого давления с помощью электроклапанов.

Работа двигателя
Запуск двигателя происходит по схеме "самозапуска". Предварительно приводы 20 и 33 устанавливаются в положения, обеспечивающие начальную установку регулятора тяги 32 и дросселя 19. Затем открывают подбаковые клапаны ракеты (на схеме не показаны) и под воздействием гидростатического напора и давления наддува компоненты топлива заполняют полости насосов окислителя и горючего до пускоотсечных клапанов 12 и 25 и обратного клапана 34 регулятора тяги 32 соответственно. Заполнение полостей двигателя горючим производится до пусковых ампул 36 и 56 через заправочной клапан 51, обратные клапаны 53 и 55. Пусковой бачок 47 также заполняется основным горючим. Такое состояние считается исходным для запуска двигателя.

При запуске двигателя производится наддув бачка 47 и вытеснение из него горючего, давление которого прорывает мембраны (не показаны) пусковых ампул 36 и 56. Одновременно производится открытие пускоотсечных клапанов 12 и 37 и 25 соответственно. В результате пусковое горючее из ампул 36 и 56 под действием давления, создаваемого пусковым бачком, поступает в газогенератор (через открытый клапан 37) и камеры (через обратные клапаны 57). Пусковое горючее, поступающее в газогенератор, воспламеняется с кислородом, также поступающим в газогенератор за счет предпускового наддува баков ракеты и гидростатического напора в них. Горючее, пройдя по охлаждаемому тракту камер сгорания, через фиксированное время поступает в смесительные головки камер сгорания 1. В течение этого времени задержки, в газогенераторе успевает начаться процесс горения и вырабатываемый генераторный газ раскручивает турбину 3 ТНА 2. После турбины окислительный газ поступает по двум охлаждаемым газоводам 41 в смесительные головки 29 двух камер сгорания, где воспламеняется с пусковым горючим, поступающим из форсунок зажигания 59 и впоследствии дожигается с поступающим в камеры горючим. Время поступления обоих компонентов в камеры сгорания подобрано так, что ТНА 2 успевает выйти на рабочий режим, пока в камерах 1 еще не установилось противодавление.

По мере роста давления за насосом горючего 17 пусковой бачок 47 автоматически выключается из работы посредством закрытия обратных клапанов 53 и 55, а питание горючим газогенератора 6 переключается на насос 17 за счет программного открытия дросселя регулятора тяги 32.

Часть окислительного газа с выхода турбины отбирается на привод двухступенчатой газовой турбины 10 бустерного преднасоса 9. Этот газ, проходя через теплообменник 44, нагревает газ, идущий на наддув баков ракеты. После турбины 10 газ сбрасывается в выходной коллектор 11, где он смешивается с основным потоком окислителя и конденсируется. Использование газа, отбираемого с выхода турбины ТНА, в качестве рабочего тела привода турбины бустерного насоса окислителя позволяет уменьшить температуру в газогенераторе и соответственно снизить мощность турбины ТНА.

Часть горючего с выхода насоса 4 поступает на привод одноступенчатой гидравлической турбины 8 бустерного насоса горючего 7.

Небольшая часть жидкого кислорода отбирается из коллекторов газогенераторов и поступает в охлаждающий тракт корпуса турбины и газоводов.

На всем этапе запуска двигателя производится программное управление открытием дросселя регулятора тяги 32 и дросселя горючего 19 из положений начальной установки в положения, соответствующие номинальному режиму двигателя с помощью соответствующих приводов 33 и 20.

Таким образом осуществляется плавный запуск двигателя с выходом на основной режим через 3 секунды.

Перед выключением двигатели переводятся на режим конечной ступени, составляющий 50% от номинального.


Рис.2.3. Упрощенная циклограмма работы двигателя РД-180 в составе РН "Атлас 3" и "Атлас 5"
(см. также [1]; изображение увеличивается)

Камера

Камера представляет собой паяно-сварной неразъемный узел и состоит из смесительной головки, камеры сгорания и сопла. Крепление камеры к газовому тракту осуществляется при помощи фланцевого соединения.

Рис.3. Камера [6],[2]:
  1. смесительная головка
  2. форсунка
  3. докритическая часть камеры сгорания
  4. закритическая часть камеры сгорания

Таблица 2. Технические параметры камеры
Параметр Значение Единицы
Приведенная длина КС 1079.6 мм
Диаметр КС 380 мм
Диаметр минимального сечения сопла 235.5 мм
Степень сужения дозвуковой
части сопла
1.61
Диаметр выходного сечения сопла 1430 мм
Степень расширения сверзвуковой
части сопла
36.87
Длина камеры 2261 мм
Давление в КС 26 МПа
Угол отклонения камеры 8 градусы

Рис.4. Схема подвода горючего в охлаждающий тракт камеры [6]:
  1. газовод
  2. среднее днище смесительной головки
  3. переднее (огневое) днище смесительной головки
  4. форсунки, образующие антипульсационные перегородки
  5. основные форсунки
  6. подвод воспламенительной смеси (4 форсунки, питаемые из отдельного коллектора)
  7. коллектор верхнего пояса завесы
  8. коллектор подвода горючего для охлаждения цилиндрической части КС
  9. коллектор среднего 26 и нижнего 27 поясов завесы
  10. главный коллектор подвода горючего к КС
  11. наружная силовая стенка КС
  12. коллектор отвода горючего из тракта охлаждения сопла
  13. внутренняя стенка КС
  14. коллектор подвода горючего для охлаждения выходной части сопла
  15. сопло
  16. горючее движется к срезу сопла по четным (условно) и возвращается по нечетным каналам
  17. подвод горючго для охлаждения выходной части сопла
  18. подвод горючго от насоса
  19. подвод горючго к среднему и нижнесу поясам завесы
  20. перегородка в каналах
  21. цилиндрическая часть КС
  22. смесительная головка
  23. центральная форсунка
  24. газовая полость смесительной головки
  25. перфорированное заднее днище смесительной головки
  26. средний пояс завесы
  27. нижний пояс завесы

Корпус камеры состоит из камеры сгорания и сопла. Корпус камеры включает в себя наружнюю силовую оболочку 11 и внутреннюю огневую стенку 13 с фрезерованными каналами, образующими тракт наружного регенеративного охлаждения камеры, имеющий три входа охладителя. Первый вход сообщен с трактом охлаждения критического сечения сопла, второй вход сообщен с трактом охлаждения выходной части сопла, а третий - с трактом охлаждения камеры сгорания. При этом первый выход сообщен с третьим входом, а первый вход, второй вход и подвод к двум нижним поясам щелевых завес объединены общим патрубком, разветвленным и размещенным снаружи камеры.

Внутреннее охлаждение обеспечивается тремя поясами щелевых завес в докритической части камеры сгорания. Через них на стенку подается около 2% горючего в виде пленок, испаряющихся и защищающих ее от тепловых потоков, которые в критическом сечении сопла достигают величин порядка 50 МВт/м2.

Cредства воспламенения выполнены из четырех равнорасположенных по окружности струйных форсунок 6, установленных за передним (огневым) днищем 3 в силовом корпусе камеры 11. Оси расходных отверстий струйных форсунок расположены под острым углом к выходу из силового корпуса и отклонены по кругу в поперечной плоскости от продольной оси силового корпуса в одинаковом направлении, причем ось расходного отверстия каждой струйной форсунки является скрещивающейся по отношению к осям расходных отверстий соседних с ней форсунок. Форсунки гидравлически объединены общим коллектором.

Все форсунки - двухкомпонентные с осевым подводом окислительного газа и тангенциальным подводом горючего. Форсунки, расположенные около огневой (внутренней) стенки камеры, выполнены с увеличенным гидросопротивлением по линии горючего по сравнению с другими форсунками за счет уменьшения диаметров отверстий подвода горючего, т.е. обеспечивающими уменьшенный расход горючего по сравнению с другими форсунками.

Рис.5. Схема форсунок [6]:
  1. подвод генератрного газа
  2. полость между двумя стенками, в которую подводится горючее
  3. тангенциально расположенные отверстия для подвода горючего
  4. область первичного смешения
  5. выходная конусообразная часть форсунки
  6. шнековый завихритель
  7. переднее (огневое) днище смесительной головки
  8. отверстия для подвода горючего
  9. полость горючего между передним и средним днищами смесительной головки
  10. среднее днище смесительной головки

Для подавления пульсаций давления начальная зона смесеобразования и горения, в которой, как правило, зарождаются высокочастотные колебания, разделена на семь примерно одинаковых объемов с помощью антипульсационных перегородок, состоящих из выступающих за огневое днище форсунок, которые неплотно прилегают друг к другу по своим цилиндрическим образующим. Благодаря этому резко повышаются собственные частоты колебаний в объемах между перегородками, смещаясь далеко от резонансных частот конструкции камеры сгорания. Кроме того, выступающие форсунки растягивают зону горения, что также уменьшает возможность возникновения высокочастотных явлений. Зазоры между неплотно прилегающими друг к другу выступающими форсунками оказывают дополнительное демпфирующее влияние.

Выступающая за огневое днище часть форсунки охлаждается горючим, проходящим по спиральным каналам (шнековому завихрителю) 6 внутренней втулки.

Остальные форсунки заглублены в огневое днище (их выходные полости 4 выходят в конические расточки 5 в огневом днище 7) и выполнены с различным гидросопротивлением при подводе горючего с разделением по массовому расходу горючего на три группы с возможностью обеспечения разницы расходов горючего между каждой группой от 3% до 10% на номинальном режиме. При этом форсунки (кроме расположенных около огневой стенки камеры) закреплены в огневом днище и среднем днище так, чтобы между собой соседствовали форсунки из различных групп путем циклического последовательного спирального повторения расположения форсунок с первой до последней группы.
Введение форсунок с разным расходом необходимо для того, чтобы снизить эффекты высокочастотных колебаний на рабочих режимах двигателя.

Рис.6.1 Схема расположения форсунок на смесительной головке [6]:
  1. форсунки, образующие антипульсационные перегородки
  2. наружная силовая стенка КС, припаянная к огневой стенке
  3. огневая стенка с фрезерованными каналами



Рис.6.2 Расположение форсунок на смесительной головке (изображения увеличиваются) [12], [19]

Узел качания

Каждая из двух камер снабжена узлом качания. Сила тяги передается от камеры на силовую раму через карданный подвес. Подвод сработавшего на турбине генераторного газа в КС осуществляется через 12-слойный составной сильфон, размещенный внутри карданного подвеса. Сильфон бронирован специальными кольцами и охлаждается небольшим количеством холодного кислорода, протекающего между внутренней поверхностью сильфона и тонкой внутренней стенкой.


Рис.7. Внешний вид узла качания [3]


Рис.8. Схема узла качания [8]
Узел качания состоит из опорных колец 9 и 10, которые соответственно герметично соединены с камерой сгорания и газоводом (выходом из турбины), в которых находятся расходные элементы наружного проточного охлаждения 11 и 12, показанные также на виде А. Сильфон 13 расположен внутри карданного кольца 14. Карданное кольцо 14 через шарниры 15, образующие две поворотные оси, соединено силовыми кронштейнами 16 и 17 с опорными кольцами 9 и 10.

Внутри сильфона 13 имеются две оболочки 18 и 19, каждая из которых представляет собой тело вращения и консольно прикреплена соответственно к одному из упомянутых опорных колец, причем свободный конец оболочки 18 выполнен в виде ниппеля со сферическим концом 20 и установлен с зазором а в оболочке 19. Центр сферы ниппеля со сферическим концом 20 расположен на оси качания камеры. Величина указанного зазора выбрана такой, чтобы обеспечить расход охлаждающего рабочего тела (окислителя), необходимый для надежного охлаждения сильфона 13.

Сильфон 13 выполнен многослойным и снабжен защитными кольцами 21, вставленными между гофрами 22 сильфона 13. Снаружи защитных колец 21 установлен плотно прилегающий к ним кожух 23, выполненный из слоев цилиндрических спиралей 24, соединенных концами с опорными кольцами 9 и 10 сильфонного узла. Смежные слои спиралей прилегают друг к другу, а их витки навиты в противоположных направлениях.

Установка металлического силового кожуха в виде металлической цилиндрической спирали снаружи защитных колец 21 сильфона 13 повышает его прочностные свойства и в то же время ограничивает самопроизвольный изгиб сильфона 13 при повороте камеры двигателя на сравнительно большие углы (10-12°), тем самым повышая его устойчивость.

Турбонасосный агрегат (ТНА)

Турбонасосный агрегат выполнен по одновальной схеме и состоит из осевой одноступенчатой реактивной турбины, одноступенчатого шнекоцентробежного насоса окислителя и двухступенчатого шнекоцентробежного насоса горючего (вторая ступень используется для подачи части горючего в газогенераторы).

Рис.9. ТНА с газогенератором [3] Рис.10.1. Вал с турбиной, шнекоцентробежным колесом
насоса окислителя, подшипниками и импеллерными уплотнениями
(изображение увеличивается)

Рис.10.2. Конфигурация ротора ТНА
Рис.10.3. Схема ротора ТНА в разрезе

На основном валу с турбиной находится насос окислителя, соосно с которым на другом валу расположены две ступени насоса горючего. Валы насосов окислителя и горючего соединены зубчатой рессорой для разгрузки вала от температурных деформаций, возникающих вследствии большой разницы температур рабрчих тел насосов, а также для предотвращения замерзания горючго.

Для защиты радиально-упорных подшипников валов от чрезмерных нагрузок применены эффективные авторазгрузочные устройства.

Турбина

Турбина - осевая одноступенчатая реактивная.

Для предотвращения возгорания из-за поломок элементов конструкции или трения вращающихся деталей о неподвижные (вследствие выборки зазоров от деформаций или наклепа на сопрягаемых поверхностях от вибрации) зазор между лопатками соплового аппарата и ротора сделан относительно большим, а кромок лопаток - относительно толстыми.

Чтобы исключить возгорание и разрушение деталей газового тракта турбины, в конструкции применены никелевые сплавы, включая жаропрочные для горячих газовых магистралей. Статор и выхлопной тракт турбины принудительно охлаждаются холодным кислородом. В местах малых радиальных или торцевых зазоров используются разного рода теплозащитные покрытия (никелевые для лопаток ротора и статора, металлокерамического для ротора), а также серебряные или бронзовые элементы, исключающие возгорание даже при возможном касании вращающихся и неподвижных деталей турбонасосного агрегата.

Для уменьшения размеров и массы посторонних частиц, могущих привести к возгоранию в газовом тракте турбины, на входе в двигатель установлен фильтр с ячейкой 0.16х0.16 мм.

Насос окислителя

Высокое давление жидкого кислорода и, как следствие, повышенная орпсность возгорания обусловили конструктивные особенности насоса окислителя.

Так, вместо плавающих уплотнительных колец на буртах крыльчатки (обычно используемых на менее мощных ТНА) применены неподвижные щелевые уплотнения с серебряной накладкой, поскольку процесс "всплывания" колец сопровождается трением в местах контакта крыльчатки с корпусом и может привести к возгоранию насоса.

Шнек, крыльчатка и торовый отвод нуждаются в особенно тщательном профилировании, а ротор в целом - в особых мерах по обеспечению динамической сбалансированности в процессе работы. В противонм случае вследствие больших пульсаций и вибраций происходят разрушения трубопроводов, возгорания в стыках вследствие взаимного перемещения деталей, трения и наклепа.

Для предотвращения возгорания из-за поломок элементов конструкции (шнека, крыльчатки и лопаток направляющего аппарата) в условиях динамического нагружения с последующим возгоранием из-за затирания обломков использованы такие средства, как повышение конструктивного совершенства и прочности за счет геометрии, материалов и чистоты отработки, а также введение новых технологий: изостатическое прессирования литых заготовок, применение гранульной технологии и другие виды.


Рис.11. Крыльчатка насоса окислителя, выполненная из гранул
никелевого сплава ЭП741НП с механически необрабатываемым
гидродинамическим трактом.

Бустерный насосный агрегат окислителя (БНАО)

Бустерный насос окислителя состоит из высоконапорного шнека и двухступенчатой газовой турбины, привод которой осуществляется окислительным газом, отбираемом после основной турбины с последующим перепуском его на вход в основной насос.


Рис.12. Упрощенная схема бустерного насосного агрегата окислителя [13]
(изображение увеличивается).
Составной корпус, состоящий из соединенных фланцевым соединением корпусов 1 и 2, имеет закрепленную на силовых ребрах 3 втулку 4, внутренняя полость которой закрыта обтекателем 5. Внутри втулки 4 размещен шарикоподшипник 6, посаженный на рабочем колесе насоса, выполненным в виде шнека 7. Обтекателем 5 поджат вкладыш 8, установленный во втулке 4. Во вкладыше 8 имеются отверстия 9, сообщающие полость вкладыша 8 с каналом 10 высокого давления.

Корпус 2 содержит обтекатель 11, закрепленный в нем с помощью спрямляющих лопастей 12. В этом обтекателе установлен шарикоподшипник 13, закрепленный с помощью гайки 14 на шнеке 7. Шнек имеет лопасти 15. По этим лопастям шнек вставлен в рабочее колесо турбины 16 (которая фактически состоит из двух ступеней, а не из одной, как изображено на упрощенной схеме) и сварен с ним, т.е. рабочее колесо турбины закреплено на перефирийной части рабочего колеса насоса.

Рабочее колесо турбины имеет профилированные лопатки 17, межлопаточный пространства которых сообщены соплами в сопловом аппарате с входным коллектором. Подвод продуктов сгорания с избытком кислорода производится через входной патрубок 18. Выходная полость турбины, выполненная в корпусе 2 в виде кольцевой цилиндрической полости, сообщается каналами 19 с коническим кольцевым патрубком 20, который отверстиями 21 сообщается с цилиндрическим выходом 22.

При работе БНАО на вход насоса подается жидкий кислород (показано стрелкой), а продукты сгорания с избытком кислорода, отбираемые из газовода после турбины основного ТНА (см. ПГС на рис. 2), подаются на вход турбины (показано стрелкой). Продукты сгорания далее попадают на профилированные лопатки 17 турбины, обеспечивая подачу жидкого кислорода шнеком 7. За турбиной продукты сгорания через отверстия 19 попадают в полость патрубка 20, а затем через отверстия 21 на выход насоса, где происходит их смешивание с жидким кислородом и конденсация. Для решения проблемы возникновения низкочастотных пульсации при конденсации газа применено дроблении потока, сбрасывающего газ.

Разгрузка шнека 7 от действий осевых сил обеспечивается подачей жидкого кислорода высокого давления (см. рис. 2.2) через канал высокого давления 10 в полость высокого давления авторазгрузочного устройства. В месте малого зазора между рабочим колесом и корпусом в полости высокого давления авторазгрузочного устройства используется серебряная накладка, предтаращающая возгорание при возможном касании.

В магистрали подвода продуктов сгорания к турбине БНАО установлен клапан "горячего газа" (45 на рис.2.1), работающий в условиях кислородного генераторного газа с высокой температурой и при высоком давлении.

Бустерный насосный агрегат горючего (БНАГ)

Бустерный насос горючего состоит из высоконапорного шнека и одноступенчатой гидравлической турбины, работающей на керосине, отбираемом после основного насоса.

Конструктивно бустерный насос горючего аналогичен бустерному насосу окислителя со следующими отличиями:

  • одноступенчатая гидротурбина работает на горючем, отбираемым с выхода насоса горючего основного ТНА;
  • отвод горючего высокого давления для разгрузки шнека от действий осевых производится из входного коллектора гитротурбины БНАГ.

Газогенератор и газовый тракт (газоводы)

Однозонный газогенератор, вырабатывающий газ с избытком окислителя для привода турбины, состоит из корпуса паяно-сварной конструкции со сферообразной внешней оболочкой и жестко связанным с ней выходным патрубоком, цилиндрической огневой камерой диаметром 300 мм и смесительной головки, оснащеной двухкомпонентными и двухкаскадными по окислителю форсунками, конструкция которых выполнена с зоной горения и зоной балластировки газа внутри форсунок. Фактически каждая форсунка образует вместе с каналом толстостенного огневого днища, в котором она расположена, индивидуальный двухзонный газогенератор. В результате обеспечивается равномерность температурного поля по поперечному сечению общего газового потока, формируемого такими форсунками, при высокой расходонапряженности.


Рис.13. Схема газогенератора [4],[5] (изображение увеличивается):
1 - сферообразная силовая оболочка; 2 - выходной патрубок; 3 - крышка; 4 - втулка; 5 - огневое днище; 6 - сквозные камеры в огневом днище; 7 - полость окислителя; 8 - проставка (внешняя стенка огневой камеры); 9 - кольцевая полость; 10 - оболочка (внутренняя стенка) огневой камеры; 11 - огневая камера; 12 - смесительный модуль (форсунка); 13 - корпус смесительного модуля; 14 - канал горючего; 15 - кольцевой канал окислителя; 16 - смесительная камера; 17 - патрубок подвода горючего; 18 - полость горючего; 19 - патрубок подвода окислителя; 20 - окна во втулке 4; 21 - тангенциальные отверстия подвода окислителя; 22 - пазы на наружной поверхности корпуса форсунки; 23 - калиброванные каналы подвода горючего; 25 - тангенциальные отверстия подвода горючего; 26 - конические расточки; 27 - полость охлаждения; 28 - каналы, образующие полость охлаждения; 29 - отверстия подвода окислителя в полость охлаждения; 30 - кольцевая щель выхода окислителя из полости охлаждения.

При работе газогенератора горючее из патрубка 17 заполняет полость 18 и подается через калиброванные каналы 23 и тангенциальные отверстия 25 в каналы 14 и далее в смесительные камеры 16. Окислитель через патрубок 19 подвается в кольцевую полость 9, через окна 20 заполняет полость 7. Часть окислителя через тангенциальные отвертия 21 попадает в смесительную камеру 16, где, смешиваясь с горючим, вызывает его возгорание. Через пазы 22 окислитель также подается в камеру 6, обеспечивая смешивание высокотемпературных продуктов сгорания. Далее в огневой камере 11 происходит охлаждение высокотемпературных продуктов сгорания с одновременным испарением жидкого и нагревом газообразного окислителя. На выходе из газогенератора к продуктам газогенерации подмешивается окислитель, подаваемый через кольцевую щель 30.

Газогенератор обеспечивает на выходе окислительный газ в широком диапазоне температур (от 190 до 600°С), что позволяет регулировать тягу двигателя от 40 до 105% номинала.

В отличие от прототипа (РД-170), в котором соединение корпуса и смесительной головки осуществляется при помощи разъемного фланца, в РД-180 применено сварное соединения корпуса и смесительной головки. Однако на этапе отработки широко применялись серийные агрегаты от РД-171, что можно увидеть на некоторых опубликованных фотографиях.

Для обеспечения приемлемого уровеня температурных напряжений в несущих корпусных деталях, газоводы между газогенераторами, турбиной и камерами охлаждаются кислородом.

Для предотвращения возгорания в газоводах, узлах качания смесительной головки камеры, клапане окислителя установлены повышенные (по сравнению с менее мощными двигателями) требования чистоты газовых трактов и недопущение наличия органических веществ.

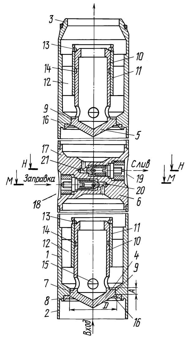
Ампула с пусковым горючим

Ампула содержит корпус 1 с входным 2 и выходным 3 патрубками мембранных узлов 4 и 5, установленных внутри корпуса 1, и средство для заправки корпуса пусковым горючим 6. Каждый мембранный узел 4, 5 содержит поршень 7, который может быть выполнен за одно целое с мембраной 8 или в котором мембрана 8 герметично соединена с его наружной поверхностью. Поршень 7 установлен в направляющей 9 корпуса по скользящей посадке.

Периферийный участок мембраны 8 герметично заварен с корпусом 1 под направляющей 9. Поршень 7 подсоединен к хвостовику 10, который может быть выполнен цилиндрическим или какой-либо иной формы и размещен во втулке 11. Втулка 11 на кронштейнах 12 прикреплена к корпусу 1 ампулы. Втулка 11 имеет пружинный фиксатор 13, например выполненный в виде пружинящего кольца, а хвостовик 10 выполнен с кольцевой канавкой 14.

При срабатывании мембранного узла пружинный фиксатор 13 ограничивает перемещение хвостовика 10. Хвостовик 10 выполнен с отверстиями 15 для стравливания газа из застойной зоны при заправке ампулы. Мембрана 8 со стороны входа 2 выполнена тонкой в форме кольцевой перемычки 16, разрываемой при взаимодействии с рабочей средой на диаметре D. Размер D несколько меньше диаметра поршня 7. В месте соединения мембраны 8 с поршнем 7 она выполнена с меньшей толщиной для того, чтобы исключить задиры при движении поршня 7 в направляющей 9 корпуса 1.

Рис.14. Схема ампулы с пусковым горючим [14]
(изображение увеличивается).

В конструкцию введено средство для заправки корпуса пусковым горючим 6, которое установлено в перегородке 17 корпуса 1 и состоит из двух заглушек - заправочной заглушки 18 и сливной заглушки 19, которые установлены соответственно в заправочном 20 и сливном 21 каналах. Каждая из заглушек имеет резьбовую пробку 22, герметизирующую пробку 23, уплотнительную прокладку 24 и гайку 25. Резьбовая пробка 22 имеет расходное отверстие 26.

Заправка ампулы пусковым горючим осуществляется следующим образом. На собранной ампуле до установки гаек 25 и герметизирующих пробок 23 не до конца ввертывают резьбовые пробки 22, таким образом, чтобы обеспечивалось открытие проходного сечения заправочного 20 и сливного 21 каналов через отверстие 26. Производят заправку пусковым топливом, подавая его через заправочный канал 20 во внутреннюю полость корпуса 1 между мембранными узлами 4 и 5, а затем через сливной канал на слив. После окончания заправки ампулы ввертывают до упора резьбовые пробки 22, после чего сливают пусковое горючее перед резьбовой пробкой 22 заправочной заглушки 18 и после резьбовой пробки 22 сливной заглушки 19. После этого устанавливают герметизирующие пробки 23, уплотнительные прокладки 24 и гайки 25. После этого ампула готова к установке на ракетный двигатель. Во внутренней полости ампулы в корпусе 1 между мембранами 8 образуется газовая подушка в результате сборки и заправки ампулы. Наличие газовой подушки способствует обеспечению надежности ампулы при хранении и эффективному движению с ускорением поршня 8 при подаче давления среды на вход ампулы.

Устройство работает следующим образом. При воздействии компонента высокого давления со стороны входа на мембранный узел 4 происходит деформация мембраны 8, а потом и разрушение по окружности D. При неравномерном разрушении мембраны 8, с появлением негерметичности, давление перед поршнем 7 не падает, благодаря работе дросселирующей щели, образованной направляющей корпуса 9 и поршнем 7, поршень 7 продолжает двигаться, а после полного разрушения мембраны 8 он разгоняется. Движение поршня 7 с ускорением обеспечивается в связи с наличием усилия от перепада давлений, действующих на площадь поверхности, определяемую диаметром D.

Длина "А", на которой поршень двигается с ускорением и зазор между поршнем 7 и направляющей 9 выбраны такими, чтобы обеспечить гарантированное срезание мембраны 8 по всему периметру, требуемую задержку раскрытия проходного сечения магистрали после среза мембраны 8, разгон поршня 7, необходимый для срабатывания пружинного фиксатора 13. Размеры перемычек мембран 8 определяется исхода из заданного давления, обеспечивающего разрушение перемычки.

Далее, перемещающийся хвостовик 10 вдоль по потоку фиксируется с помощью пружинного фиксатора 13, при этом гидравлические характеристики открытого мембранного узла 4 воспроизводятся с высокой точностью, так как в потоке компонента отсутствуют элементы конструкции с неопределенным положением.

После открытия мембранного узла 4 за счет возросшего давления пускового горючего аналогичным образом открывается мембранный узел 5.

Пусковой бачок

Пусковой бачок предназначен для создания давления, требуемого для прорыва мембран ампул с пусковым горючим.


Рис.15. Схема пускового бачка [15]

Пусковой бачок содержит силовую оболочку 1, выполненную в форме полусферы, и трубчатый фланец 2, сопряженный на своем торце с торцом силовой оболочки 1. Трубчатый фланец 2 расположен вдоль продольной оси упомянутой полусферы силовой оболочки 1 и на его внутренней поверхности выполнена кольцевая канавка 3. Штуцер 4 для заправки и выдачи жидкости установлен в силовой оболочке 1. Прижимное кольцо 5 расположено соосно продольной оси силовой оболочки 1. Эластичная диафрагма 6 закреплена между трубчатым фланцем 2 и прижимным кольцом 5 и выполнена в форме полусферы, сопряженной с цилиндром, на наружной поверхности в основании которого выполнен концевой выступ 7, размещенный в кольцевой канавке 3 трубчатого фланца 2. Наружная поверхность прижимного кольца 5 и внутренняя поверхность трубчатого фланца 2 в месте размещения концевого выступа 7 в кольцевой канавке 3 выполнены цилиндрическими. Устройство имеет днище 8, выполненное в форме части сферы, с возможностью воздействия его торца на торец прижимного кольца 5 и герметичного соединения с трубчатым фланцем 2 силовой оболочки 1. Штуцер 9 для подвода управляющего газа установлен в днище 8. В конструкцию введено тонкостенное кольцо 10, на котором выполнен бурт 11 и которое установлено между прижимным кольцом 5 и эластичной диафрагмой 6 в месте расположения ее кольцевого выступа 7.

Рассекатель 16 выполнен в виде пластины, перфорированной отверстиями 21, края которой прикреплены к внутренней поверхности днища 8 в полости 14, соединенной со штуцером 9 для подвода управляющего газа. Рассекатель 16 с отверстиями 21 служит для равномерного воздействия потока газа на эластичную диафрагму 6.

Работает устройство следующим образом (см. также раздел работа ПГС). Через штуцер 4 происходит заполнение бачка основным горючим, при этом происходит перекладка эластичной диафрагмы 6 на днище 8. Затем подается управляющий газ через штуцер 9, под действием которого диафрагма 6 перекладывается в исходное положение, вытесняя основное горючее через штуцер 4.

Благодаря принятой конструкции узла крепления концевого участка эластичной диафрагмы при высоком давлении обеспечивается герметичность при многоразовых перекладках (более 450), и обеспечивается возможность перегиба эластичной оболочки практически без ее растяжения.

Транспортировочный контейнер

Контейнер предназначен для транспортирования двигателя, при этом контейнер включает раму, закрепленную на ней поперечную силовую стойку и установленные на ней узлы крепления с транспортируемым ракетным двигателем, который в контейнере закреплен консольно на поперечной силовой стойке. Поперечная силовая стойка выполнена в виде транспортировочного кольца, причем контейнер снабжен средством установки и фиксации этого кольца на раме в вертикальном или отклоненном от вертикали на угол не более 10° положении, а закрепление этого кольца на раме осуществлено с помощью талрепов, причем рама и транспортировочное кольцо снабжены элементами крепления к концевым участкам талрепов.

Габаритные размеры контейнера 4.6 х 3.67 х 3.0 м, вес с двигателем около 9 тонн.

Рис.16. Транспортировочный контейнер (изображение увеличивается).

Рис.17. Выгрузка транспортировочного контейнера из самолета ИЛ-76. Рис.18. РД-180 в транспортировочных контейнерах со снятыми кожухами в цехе фирмы "Lockheed Martin" в Денвере, США (изображение увеличивается).

Галерея

Использованные источники информации

  1. Каторгин Б. И. Перспективы создания мощных жидкостных ракетных двигателей
  2. George P. Sutton "History of Liquid Propellant Rocket Engines"
  3. Проспект НПО "Энергомаш"
  4. Описание изобретения к патенту Российской Федерации RU 2159351. Газогенератор (US Patent 6244040).
  5. Описание изобретения к патенту Российской Федерации RU 2159349. Модуль-газогенератор (US Patent 6212878).
  6. Описание изобретения к патенту Российской Федерации RU 2158841. Камера ЖРД и ее корпус (US Patent 6244041).
  7. Добровольский М.В. Жидкостные ракетные двигатели. - М.: МГТУ, 2005.
  8. Описание изобретения к патенту Российской Федерации RU 2159352. Узел качания Камеры ЖРД с дожиганием.
  9. Описание изобретения к патенту Российской Федерации RU 2158839. ЖРД с дожиганием турбогаза (US Patent 6226980).
  10. Описание изобретения к патенту Российской Федерации RU 2158840. Корпус камеры ЖРД (US Patent 6442931).
  11. Рахманин В. Ф. Главный конструктор ракетных двигателей.
  12. Ракетный двигатель РД-170. Видеофильм (размер 46 Мб, длительность 6 мин. 52 с.)
  13. Описание изобретения к патенту Российской Федерации RU 2106534. Бустерный турбонасосный агрегат.
  14. Описание изобретения к патенту Российской Федерации RU 2159353. Ампула с пусковым горючим для зажигания компонентов топлива ЖРД.
  15. Описание изобретения к патенту Российской Федерации RU 2158699. Бак для хранения и вытеснения жидкости.