ЖРД РД-253 (11Д43) и РД-275 (14Д14)

Предыстория

К 1960 году ОКБ-456 накопил значительный опыт разработки двигателей открытой схемы на высококипящих стабильных компонентах, а также двигателей, работающих на топливной паре кислород — НДМГ. В числе прочих, были созданы двигатели для ракет Р-12, Р-14, Р-16. Позднее начались работы над двигателями для ракет Р-36, УР-700.

В 1960-1961 гг. в ОКБ-456 для первой ступени ракеты H1 начались проработки двигателя замкнутой схемы тягой 100-150 тонн и давлением до 15 МПа на различных компонентах топлива: азотная кислота — НДМГ (РД-220, РД-222), жидкий кислород — НДМГ (РД-114, РД-115), и АТ — НДМГ (РД-253, РД-254). При этом создание двигателя замкнутой схемы указанной размерности на топливной паре кислород — керосин, по мнению В.П. Глушко, было связано с неприемлемо длительными сроками (до тех пор в ОКБ-456 не было опыта создания двигателей замкнутой схемы). Однако ОКБ-1 (разработчик ракеты) настаивало на применении керосина и жидкого кислорода. В результате разработка двигателей для ракеты Н1 была поручена ОКБ-276 Н.Д. Кузнецова.

16 апреля 1962 года вышло Постановление Совета Министров СССР "О создании образцов межконтинентальных баллистических и глобальных ракет и носителей тяжелых космических объектов", предусматривающее, помимо прочего, разработку тяжелой четырехступенчатой ракеты Р-56 в ОКБ-586 М.К. Янгеля (ныне КБ "Южное"). На первой ступени предполагалось использовать 16 двигателей РД-253, на второй — четыре РД-254 (11Д44, высотный вариант РД-253), на третьей — один РД-254 или РД-0213.

29 апреля 1962 года вышло Постановление Совета Министров СССР о разработке ракеты УР-500 (8К82). В конструктивно-компоновочной схеме, утвержденной в мае 1962 года, на первой ступени было установлено 4 неподвижных двигателя РД-253 (11Д43) и 4 качающихся ЖРД РД-0203 (8Д43) от УР-200 разработки ОКБ-154 С.А. Косберга (см. РД-0203/0204). Однако уже в эскизном проекте, законченном в 1963 году, эта связка была заменена на 6 двигателей РД-253 на качающемся подвесе.

19 июля 1964 года в соответствии с Постановлением Совета Министров СССР все работы по ракете Р-56 были прекращены.

3 августа 1964 года вышло Постановление Совета Министров СССР "О работах по исследованию Луны и космического пространства", в соответствии с которым параллельно с разрабаткой двухступенчатой ракеты УР-500 началась разработка трехступенчатой ракеты, названной УР-500К (космическая, индекс 8К82К).

На основании Постановления ЦК КПСС и Совета Министров СССР от 17 ноября 1967 года начались работы по ракете УР-700, третья ступень которой представляла собой укороченную первую ступень ракеты УР-500 с заменой шести двигателей РД-253 на четыре РД-254. 31 декабря 1970 года все работы по ракете УР-700 были прекращены.

Краткая хронология создания двигателя

1961 г. - начало проектных работ по двигателю РД-253 на компонентах НДМГ — АТ для лунной ракеты Н1. С.П.Королев отказывается использовать эти двигатели в Н-1.

Ноябрь 1961 г. - группа сотрудников ОКБ-52 (Челомея) посетила ОКБ-456. Разрабатываемые для ракеты Н1 двигатели РД-253 после доработки решено применить в составе ДУ первой ступени ракеты УР-500.

1962 г. - начало подготовки производства двигателя РД-253 для ракеты УР-500.

1964 г. - изготовлен опытный комплект двигателей РД-253.

16 июня 1965 г. - первый пуск двухступенчатой УР-500 (8К82). Всего было произведено 4 запуска двухступенчатой ракеты УР-500. Третий запуск 24 марта 1966 года закончился аварией на участке работы второй ступени.

10 марта 1967 г. - первый пуск четырехступенчатой ракеты УР-500К. В качестве четвертой ступени была использована пятая ступень ракеты Н-1 (блок Д).

16 ноября 1968 г. - первый пуск трехступенчатой ракеты УР-500К.

1987 г. - начало разработки форсированного двигателя РД-275 для РН «Протон»

октябре 1995 г. - первый пуск РН «Протон» с двигателями РД-275 (14Д14)

2001 г. - начало разработки форсированного на 5.2% по тяге двигателя РД-275М (14Д14М, в документах ОАО "Протон-ПМ" - РД-276).

14 апреля - 15 июня 2005 г. - двигатель РД-275М (14Д14М) успешно прошел программу межведомственных испытаний. Началось серийное производство новой модификации двигателя.

7 июля 2007 г. - первый пуск РН «Протон-М» с двигателями РД-275М (14Д14М)

Общие сведения

Двигатель выполнен по замкнутой схеме с дожиганием окислительного генераторного газа после турбины.
Компоненты топлива: окислитель - четырехокись азота (азотный тетраоксид, AT), горючее - несимметричный диметилгидразин (НДМГ).

Двигатель содержит камеру сгорания, турбонасосный агрегат (ТНА) с турбиной и насосами окисоителя и горючего, газогенератор, струйный преднасос окислителя, генераторфы газа для наддува топливных баков, агрегаты автоматики и другие элементы.

Управляющие моменты создаются качанием всего двигателя в шарнирном подвесе. Т.к. качание происходит в одной плоскости, в многодвигательной ДУ двигатели установлены с угловым смещением относительно друг друга.

Ранний вариант двигателя (см. рис.1) с пиротурбинным способом запуска содержал также пусковую турбину, расположенную на противоположном от основной турбины конце ТНА, работающую от специальной пирошашки с отводом отработанных газов с помощью выхлопного патрубка. Кроме того, его компоновка отличалась от современной (см. рис.2). В частности, газогенератор был расположен выше смесительной головки камеры, а газоводы, соединяющие выход основной турбины и смесительную головку камеры, были более короткими.


Рис.1. Ранний вариант
двигателя РД-253
(изображение увеличивается) [1]

Таблица 1. Технические параметры двигателей РД-253, РД-275 и РД-275М [5], [7], [11]
Параметр Значение Единицы
РД-253 РД-275 РД-275М
Тяга
у Земли 1474 1590 1670 кН
  150 162 170.4 тонн
в пустоте 1635 1747 1830 кН
в пустоте 166 178 186.8 тонн
Давление в камере сгорания14.715.716.5МПа
Удельный импульс тяги
у Земли27962890 м/с
в пустоте31003160 м/с
Коэффициент соотношение компонентов 2.67 2.67 m(ок)/m(г)
Масса двигателя
сухого108010701070кг
залитого1260 кг
Габариты
высота300030503050мм
диаметр150015001500мм


Рис.2. Двигатель РД-253 [3]

Описание конструкции

Пневмогидравлическая схема

Описание


Рис.2.1. Пневмогидравлическая схема [6]

Рис.2.2. Пневмогидравлическая схема [8]

Рис.2.3. Пневмогидравлическая схема [13] (изображение увеличивается при нажатии)

В состав пневмогидравлической схемы двигателя (рис. 2.3) входят следующие агрегаты и системы: камера сгорания, турбонасосный агрегат, система окислителя, система горючего, система газогенерации, агрегаты системы управления и регулирования двигателя, пиротехнические средства, система наддува баков ракеты, система питания РМ. Управление двигателем после команды "Пуск ДУ" производится автоматически, путем подачи электрических команд на соответствующие агрегаты двигателя системой управления ракеты. Процесс работы двигателя включает следующие этапы: запуск, работа на режиме главной ступени и выключение.

Работа двигателя

Запуск двигателя

По команде «Пуск» происходит включение программного токораспределителя. Через ~0,7 секунды программный токораспределитель (ПТР) выдает команду "Пуск ДУ". По этой команде подается напряжение на пиропатроны пиромембранных клапанов горючего 16 и окислителя 18.

При срабатывании пиропатронов происходит прорыв мембран пиромембранного клапана (ПМК). Под воздействием давления наземного наддува баков ракеты и гидростатического давления столбов компонентов топлива начинается заполнение магистралей двигателя окислителем и горючим. Компоненты топлива из насоса окислителя 12 и второй ступени насоса горючего 14 с опережением "О" поступают в газогенератор 27 и самовоспламеняются. Окислительный поступает на рабочие лопатки турбины 30, раскручивая ротор ТНА, и далее в камеру сгорания 3.

Горючее из первой ступени насоса 13 подается к коллектору камеры сгорания и, пройдя по зарубашечному пространству, через форсунки впрыскивается в КС с некоторые запаздыванием относительно окислительного газа. Определенное весовое соотношение компонентов обеспечивается установкой расходных шайб: 6-горючее и 31-окислитель.

В камере сгорания компоненты смешиваются и воспламеняются. Продукты сгорания при истечении из КС открывают заглушку 34, установленную в критическом сечении КС.

По мере нарастания числа оборотов ТНА растут давления компонентов в магистралях и КС - двигатель выходит на предварительную ступень работы. Режим предварительной ступени двигателя обеспечивается соответствующей настройкой регулятора расхода 23 и клапана "О" 35.

При выходе двигателя на предварительную ступень происходят срабатывание мембранных узлов 4 и 20 и начинается наддув баков ракеты через газогенератор 5 и смеситель 21. Номинальные расходы компонентов топлива, поступающих в газогенератор, обеспечиваются жиклерами 32 и7 установленными в пироклапане 33 и трубопроводе подвода "Г" к газогенератору. Окислительный газ и окислитель подаются в смеситель через жиклеры 24 и 25.

Также после выхода двигателя на предварительную ступень происходит прорыв мембран 15 и 17 на трубопроводах подвода горючего на рулевую машинку и окислителя на струйный преднасос 19 соответственно.

Через 1.8±0.44 секунды от команды "Пуск ДУ" программный токораспределитель выдает команду ГСТ (главная ступень). По этой команде подается напряжение на пиропатроны пирочек регулятора расхода 23 клапана 35. Проходные сечения регулятора расхода и клапана увеличиваются, увеличивая расходы горючего и окислителя через газогенератор, что приводит к увеличению оборотов ТНА, расходов и давлений топлива. Двигатель выходит на режим главной ступени работы.

Главная ступень тяги

На режиме главной ступени при достижении тяги, превышающей вес ракеты, последняя отрывается от стартового устройства. При этом проходит сигнал КП (контакт подъема) и включаются в работу системы РКС (регулирование кажущейся скорости) и СОБ (синхронное опорожнение баков), в систему безопасности носителя подключается сигнализатор давления в КС 1.

Изменение режима работы двигателя при полете ракеты производится системой РКС. При отклонении скорости ракеты от программной система РКС подает команду на привод 22 регулятора расхода.

Расход горючего через газогенератор изменяется, что приводит к изменению оборотов ТНА, расходов и давлений компонентой топлива и тяги двигателя. Для ограничения величины изменении тяги двигателя в заданных пределах применено регулирование по давлению газов в КС с использованием обратной связи, элементом которой является датчик давления 2.

В случае отсутствия сигнала от системы РКС регулятор расхода обеспечивает неизменный расход горючего через ГГ, поддерживая тем самым заданный режим работы двигателя.

Изменение соотношения расходов компонентов топлива через двигатель осуществляется дросселем горючего по командам системы СОБ.

Система СОБ обеспечивает одновременное опорожнение баков ракеты и, следовательно, минимальные остатки компонентов топлива в баках ракеты к моменту выключения двигателя. При рассогласовании уровней окислителя и горючего в баках эта система подаст команду на привод 10 дросселя 11.

Проходное сечение дросселя меняется, что приводит к изменению расхода горючего через двигатель и, в итоге, к необходимому изменению уровня горючего в баке ракеты.

Останов двигателя

Команда на останов двигателей выдается по достижению ракетой заданной скорости через программный токораспределитель.

Для уменьшения гидроударов, возникающих в магистралях двигателя при закрытии клапанов, выключение производится в две ступени и за определенное время перед выключением, в случае работы двигателя на режиме форсирования, система РКС обеспечивает перевод работы двигателя на номинальный режим.

По первой команде на выключение закрываются пироклапан горючего 28 основного газогенератора и пироклапан 33 окислителя газогенератора наддува, что приводит к прекращению расходов соответствующих компонентов топлива через газогенераторы. По этой же команде происходит выключение систем РКС и СОБ, блокируется сигнализатор давления 1, задействованный в СБН (система безопасности носителя).

Вторая команда на выключение двигателя подается через 0,2 ± 0,03 сек. По этой команде закрываются пироклапаны 26 окислителя основного газогенератора, клапан 9 горючего. КС и открывается дренажный клапан 8. При закрытии указанных клапанов прекращается доступ соответствующих компонентов топлива в газогенераторы, камеру сгорания и смеситель. Двигатель прекращает работу. При открытии дренажного клапана 8 горючее из за рубашечного пространства КС выбрасывается в атмосферу для уменьшения импульса последействия.

Схема ракеты предусматривает аварийное выключение двигателей при запуске. По решению технического руководителя может быть подана "вручную" команда АВД (аварийное выключение двигателя), если через 2,0±0,1 секунды от команды ГСТ не проходит сигнал КП. Порядок срабатывания агрегатов автоматики при АВД такой же, как и при нормальном выключении двигателей, но при этом открытие дренажного клапана 8 не производится.

Кроме того, возможно выключение двигателей при полете ракеты на активном участке от СБН, порядок срабатывания агрегатов такой же, как и при нормальном выключении.

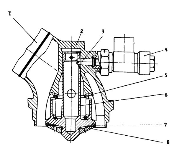
Камера

Рис.3. Камера
  1. смесительная головка
  2. кольцо соединительное
  3. камера сгорания
  4. кронштейн
  5. штуцер
  6. штуцер
  7. кронштейн
  8. реперная площадка
  9. сопло

Камера сгорания (рис. 3) представляет собой паянно-сварную конструкцию, состоящую из смесительной головки, цилиндрической части камеры и профилированною сопла, закритическая часть которого выполнена с угловым входом. Соединение деталей и узлов КС осуществлено путем сварки и пайки твердым припоем.

Таблица 2. Технические параметры камеры [7]
Параметр Значение Единицы
Приведенная длина КС 999.7 мм
Диаметр КС 430 мм
Диаметр минимального сечения сопла 279.7 мм
Степень сужения дозвуковой
части сопла
1.54
Диаметр выходного сечения сопла 1431 мм
Степень расширения сверзвуковой
части сопла
26.2
Длина камеры 2235 мм
Температура в КС 3010 K
Давление в КС 14.7 МПа
Давление в выходном сечении сопла 0.07 МПа
Коэффициент тяги
в вакууме 1.83
на уровне моря 1.65
Сухой вес 435 кг

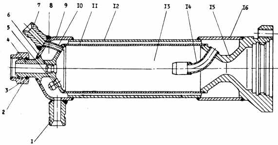
Конструкция

Рис.4. Конструкция камеры
  1. верхний пояс завесы
  2. 2-я (нижняя) цилиндрическая секция камеры сгорания
  3. 1-я (верхняя) цилиндрическая секция камеры сгорания
  4. огневая стенка
  5. внешняя оболочка камеры
  6. бандаж с цапфами
  7. коллектор
  8. 1-я секция сопла
  9. проставка гофрированная
  10. 2-я секция сопла
  11. штуцер
  12. угольник
  13. коллектор
  14. трубопровод
  15. перегородка
  16. кронштейн
  17. угольник
  18. переходник
  19. трубопровод
  20. угольник
  21. средняя часть камеры
  22. нижний пояс завесы
  23. штуцер

КС, включающая цилиндрический участок камеры, докритическую и закритическую части сопла, состоит из следующих основных узлов: двух секций цилиндра 3 и 2; двух поясов завесы 1 и 22; средней части 21; первой секции сопла 8; сопла-надставки 10.

Каждый из основных узлов состоит из внутренней стенки и наружной рубашки. Внутренние стенки цилиндра, завесы, средней части и первой секции сопла соединяются между собой сваркой, а рубашки свариваются при помощи соединительных колец.

Наружные рубашки с внутренними стенками секций цилиндра, поясов завесы, средней части и первой секции сопла спаяны по вершинам ребер, выфрезерованных на наружной поверхности стенок. Образованные ребрами каналы служат для протока охлаждающей жидкости.

На внутренней стенке каждого пояса завесы имеется кольцевая канавка, сообщающаяся при помощи тангенциальных отверстий (сечение по АА) с зарубашечным пространством.

К рубашке средней части 21 приварен бандаж с цапфами 6.

На первой секции сопла 8 находится коллектор 7 с патрубком 17 (угольником) для ввода горючего. Для прохода "Г" из коллектора в зарубашечное пространство в рубашке просверлены отверстия. От штуцера 23 производится отбор горючего к газогенератору наддува.

На перегородке 15, припаянной к рубашке, крепится защита двигателя. Для крепления ТНА приварен кронштейн 4.

Стенка и рубашка сопла-надставки 10 соединены между собой пайкой через гофрированные проставки 9.

Коллектор 13 с патрубками 12 (угольниками) служит для отвода охладителя из зарубашеченное пространства сопла-надставки. На коллекторе имеется штуцер 11 для слива горючего.

Перепуск горючего из коллектора 13 в коллектор бандажа 6 производится по четырем трубопроводам 14, приваренным к угольникам 12 и 20. Температурная компенсация длины трубопроводов обеспечивается гибкими шлангами 19.

Внутренние стенки цилиндра, завесы, средней части и первой секции сопла изготовлены из специальной бронзы. Наружная рубашка, коллекторы и бандаж с цапфами выполнены из нержавеющей стали повышенной прочности.

На внутренние поверхности стенок, кроме щелей завесы и сопла-надставки, нанесено циркониевое покрытие.

Окислитель поступает в форсуночную головку из ГГ в виде окислительного газа, горючее подводится к коллектору 7, откуда проходит по зарубашечному тракту КС и поступает в ФГ с некоторым запаздыванием относительно окислителя. Из полостей окислителя и горючего ФГ компоненты топлива через форсунки впрыскиваются в цилиндрическую часть камеры, где протекает процесс сгорания распыленного топлива. В сопле происходит расширение газа, сопровождающееся уменьшением его давления, температуры и увеличением скорости истечения.

Охлаждение

Рис.6. Схема охлаждения камеры

Охлаждение камеры сгорания комбинированное наружное и внутреннее. Наружное охлаждение обеспечивается протоком горючего по межрубашечному пространству камеры, а внутреннее организовано подачей части "Г" через отверстия в стенках поясов завесы на внутреннюю поверхность нижней части КС.

Поступающее из коллектора (б) в межрубашечное пространство горючее разветвляется на два потока, один из которых направляется к критическому сечению, другой к срезу сопла. На срезе сопла последний собирается в коллекторе (а) и по перепускным трубопроводам поступает в коллектор (в) бандажа, здесь же оба потока соединяются. Далее, проходя по зарубашечному пространству цилиндра КС, горючее поступает в ФГ и через форсунки впрыскивается в камеру.

Разделение "Г" на два потока позволило уменьшить высоту зарубашечной щели на большей части поверхности камеры сгорания, что существенно снизило вес камеры без ущерба для качества охлаждения.

Горючее, которое отбирается из зарубашечного пространства подается в поясы завесы, закручивается наклонными каналами и в виде равномерной пелены ложится на огневую поверхность нижней части КС. Пелена прижимается к стенке КС набегающим потоком газов и испаряется под действием высокой температуры. Тем самым снижается соотношение компонентов в пристеночном слое газов, благодаря чему снижается температура стенки.

Рис.5. Пояс завесы
  1. кольцо соединительное
  2. силовое кольцо
  3. кольцо распорное
  4. огневая стенка

На цилиндрической части камеры сгорания установлены два пояса завес, организующие внутреннее завесное (пленочное) охлаждение огневой стенки камеры. Верхний пояс расположен в непрсредственной близости от смесительной головки. Нижний пояс расположен перед сужающейся средней части камеры.

Отбор горючего для завес осуществляется непосредственно из охлаждающего тракта наружного регенеративного охлаждения камеры. Из тракта охлаждения жидкость поступает в каналы — круглые отверстия, тангенциально расположенные в стенке с малым шагом для обеспечения равномерности распределения расхода по периметру окружности. Кроме того, перед выходом на внутреннюю поверхность стенки жидкость перемешивается в специальной проточке, выполняющей роль выходного коллектора завесы.

Для защиты огневого днища между основными форсунками установлены малорасходные форсунки горючего.

Огневая стенка дополнительно защищена от прогара жаростойким керамическим покрытием.

Смесительная головка


Рис.7. Смесительная головка
  1. патрубок
  2. наружное днище (коллектор)
  3. выравнивающая решетка
  4. силовое кольцо
  5. основные форсунки
  6. переднее (огневое) днище
  7. среднее днище
  8. форсунка
  9. форсунка

Смесительная головка содержит сферическое наружное днище 2, коллектор, выравнивающую решетку 3, среднее днище 7 и переднее (огневое) днище 6, объединенные силовым кольцом 4 в единый сварной узел.

Во внутреннюю полость головки, образованную средним и передним (огневым) днищами, непосредственно из тракта наружного регенеративного охлаждения камеры поступает горючее. В коллектор, образованный сферическим наружним и средним днищами, черех два патрубка 1 поступает отработанный на турбине ТНА окислительный генераторный газ. Решетка 3, установленная в газовой полости, и вытеснитель в полости горючего выравнивают параметры потока компонентов топлива перед форсунками.

Впрыск компонентов топлива в КС производится через форсунки, расположенные по концентрическим окружностям, В центре смесительной головки установлено семь форсунок 9, выполненных конструктивно так, что горючее, проходящее внутрь форсунки по тангенциальным отверстиям, не смешивается с потоком газа, идущим через центральное отверстие форсунки, а распыляется на выходе самостоятельным конусом, предохраняя центр переднего днища от воздействия высокой температуры.

Форсунки 5 конструктивно выполнены одинаково, но отличаются между собой по расходу для выравнивания коэффициента соотношения топлива по поперечному сечению КС.

Часть горючего проходит через малорасходные форсунки 8 снижая температуру газов в зоне внутреннего днища и предохраняя его от прогорания.

Для отбора давления из КС к датчикам давления на силовое кольцо 4 приварены два штуцера, сообщающиеся с внутренней полостью КС через отверстия в штифтах. Замер давления горючего перед форсунками производится через соответсвубщие штуцеры.

Внутреннее днище, форсунки "Г" и штифты изготовлены из специальной бронзы. Двухкомпонентные форсунки и детали среднего днища выполнены из нержавеющей стали, остальные детали смесительной головки из жаропрочного никелевого сплава.

Турбонасосный агрегат (ТНА)

Рис.8.
  1. турбина
  2. насос окислителя
  3. насос горючего

Турбонасосный агрегат обеспечивает подачу компонентов топлива в камеру сгорания, газогенератор, смеситель и рулевую машинку. Турбонасосный агрегат включает в себя одноступенчатую газовую турбину реактивного типа, насосы окислителя и горючего центробежного типа. Насос горючего - двухступенчатый.

Конструктивно ТНА состоит из двух узлов: насоса окислителя с турбиной и насоса горючего. Корпусы насосов и турбины в сборе образуют общий жесткий корпус ТНА. В корпусах насосов установлены штуцеры, к которым подсоединяются магистрали слива и дренажа компонентов. На корпусе насоса горючего имеется проушина для размещения опоры.

ТНА имеет два вала: вал насоса окислителя и турбины и вал насоса горючего. Валы между собой соединены рессорой, обеспечивающей надежную передачу крутящего момента с вала насоса окислителя на вал насоса горючего при возможных взаимных смещениях и перекосах осей валов. Каждый вал установлен на двух шариковых подшипниках, один из которых имеет осевую фиксацию.

Охлаждение и смазка двух подшипников (по одному в насосах окислителя и горючего) осуществляется компонентами, двух других консистентной смазкой.

Насос окислителя и первая ступень насоса горючего имеют крыльчатки закрытого типа с двухсторонним подводом компонентов топлива, а вторая ступень насоса горючего крыльчатку закрытого типа с односторонним подводом горючего. Для обеспечения бескавитационной работы насосов перед входом в крыльчатки установлены осевые преднасосы - шнеки.

Осевое усилие, возникающее на рабочем колесе турбины разгружается при помощи авторазгрузочного устройства.

Использование в двигателе самовоспламеняющихся компонентов топлива потребовало введения в конструкцию ТНА надежной системы уплотнений. Герметичность полостей насосов и турбины обеспечивается применением уплотнении манжетного и сильфонного типа и гидрозатворов. В случае просачивания компонентов через уплотнения, они отводятся из специально предусмотренных дренажных полостей через соответствующие дренажные трубопроводы.

Таблица 3. Параметры ТНА [7]
Параметр Значение Единицы
окислитель горючее
Давление на выходе из насоса 27.6 24.6 МПа
Расход компонента через насос 384 144 кг/с
Диаметр импеллера 229 288 мм
К.п.д. насоса 0.68 0.69
Мощность на валу 16 150 8 850 л.с.
Скорость вращения вала 13 855 мин-1
Мощность турбины 25 490 л.с.
Давление на входе в турбину 23.4 МПа
Количество ступеней турбины 1
Степень понижения давления на турбине 1.42
Температура на входе в турбину 783 К
К.п.д. турбины 0.74

Рис.9. ТНА раннего варианта двигателя РД-253 [1]
  1. насос горючего
  2. насос окислителя
  3. газогенератор
  4. фланец для установки пирошашки для привода пусковой турбины
  5. основная турбина
  6. пусковая турбина

Турбина и насос окислителя

Рис.10. Турбина и насос окислителя
  1. ротор турбины
  2. статор с сопловым аппаратом турбины
  3. выхлопной коллектор турбины
  4. уплотнение типа "плавающий лабиринт"
  5. подшипник
  6. корпус насоса окислителя
  7. крышка насоса
  8. отражатель
  9. подшипник
  10. вал
  11. втулка
  12. крышка
  13. уплотнение типа "плавающий лабиринт"
  14. прокладка (медное кольцо)
  15. шнек
  16. крышка

Турбина

Турбина - реактивного типа, дозвуковая, осевая. Рабочее тело - окислительный газ, образующийся в газогенераторе.

Турбина состоит из ротора 1, статора с сопловым аппаратом 2 и коллектором 3 с патрубками.

Ротор турбины состоит из рабочего колеса турбины и вала 2. Рабочее колесо соединено с валом посредством фланцевого соединения винтами. Передача крутящего момента от рабочего колеся к валу осуществляется с помощью штифтов.

Лопатки и диск, из которых состоит рабочее колесо турбины, отлиты из жаропрочного сплава как одно целое. Лопатки по высоте имеют переменный профиль.

Вал ротора выполнен из нержавеющей стали. На поверхности вала выфрезерованы прямоугольные шлицы для посадки крыльчатки и шнеков насоса окислителя. Внутри вала выполнены эвольвентные шлицы для соединения вала с рессорой.

Статор турбины 2 представляет собой сварную конструкцию в которой расположен сопловой аппарат. Все детали статора и коллектора выполнены из жаропрочного сплава.

Насос окислителя

Насос предназначен для подачи окислителя в газогенераторы и струйный преднасос.

Основным рабочим элементом насоса является крыльчатка закрытого типа с двухсторонним входом. Крыльчатка отлита из высокопрочного алюминиевого сплава и для защиты от коррозии фосфатируется.

На входе в крыльчатку установлены шнеки 15,изготовленные из нержавеющей стали. Для предотвращения местного нагрева и возгорания материала из-за возможного появления надиров и наклепов посадочные места и торцы шнеков омеднены, а между шнеками и крыльчаткой введены медные кольца.

Корпус насоса выполнен в виде отливки из высокопрочного алюминиевого сплава и для защиты от коррозии анодирован.

Полости высокого и низкого давления насоса разделяются посредством установки на бурты крыльчаток плавающих лабиринтных уплотнений. Полости турбины и насоса окислителя разделяются гидрозатвором лабиринтного типа 4, также выполняющего роль авторазгрузочного устройства компенсирующего осевое усилие от турбины. Уплотнение по валу со стороны крышки 7 состоит из гидрозатвора, сильфонного и манжетного уплотнений.

Для обеспечения компенсации тепловых расширений корпуса насоса и вала внешняя обойма подшипника 9 в корпусе не зафиксирована. Для исключения проворота вала относительно подшипника внутренняя обойма последнего устанавливается на вал с гарантированным натягом.

Насос горючего

Рис.11. Насос горючего
  1. вал
  2. подшипник
  3. крышка насоса
  4. корпус насоса
  5. шнек
  6. уплотнение типа "плавающий лабиринт"
  7. крышка насоса
  8. подшипник
  9. центробежное колесо второй ступени насоса
  10. датчик числа оборотов
  11. центробежное колесо первой ступени насоса
  12. уплотнение типа "плавающий лабиринт"
  13. отражатель
  14. магнитопровод

Насос предназначен для подачи горючего в камеру сгорания, газогенераторы и рулевую машинку.

Насос горючего центробежного типа, двухступенчатый. Основными рабочими элементами насоса являются крыльчатки первой и второй ступени. Крыльчатка первой ступени насоса горючего закрытого типа с двухсторонним входом отлита из высокопрочною алюминиевого сплава и по конструкции мало отличается от крыльчатки насоса окислителя. Для улучшения всасывающей способности насоса на входах в крыльчатку установлены шнеки 5. Шнеки изготовлены из нержавеющей стали. Крыльчатка второй ступени насоса закрытого типа с односторонним входом и отлита из высокопрочного алюминиевого сплава.

Вал насоса 1 изготовлен из конструкционной стали. На валу выфрезерованы прямоугольные шлицы для посадки крыльчатки 11 и шнеков 5 и две шпоночные канавки для посадки крыльчатки 9. Со стороны насоса окислителя вал имеет внутренние эвольвентные шлицы для рессоры.

Для замера числа оборотов ТНА на валу 1 установлен магнитопровод 15 с шестнадцатью выступами. В нижней части корпуса первой ступени насоса имеется отверстие для установки датчика 10.

Корпус насоса 4, являющийся общим для обеих ступеней, крышки 3 и 7 и крышки уплотнений изготовлены из алюминиевого сплава.

В крышках 3 и 7 имеются места для установки подшипников и уплотнений.

Подшипник 5 кроме радиальных нагрузок воспринимает осевые усилия, возникающие при работе насоса. Подшипник работает в среде консистентной смазки.

Для обеспечения компенсации тепловых расширений корпуса насоса и вала внешняя обойма второго подшипника 1 не зафиксирована относительно корпуса. Подшипник смазывается и охлаждается горючим, поступающим через зазор лабиринтного уплотнения. От подшипника компонент по каналу в корпусе и крышке насоса поступает в полость низкого давления первой ступени насоса.

Входные полости первой и второй ступеней насоса, а также полости высокого и низкого давления в каждой ступени, разделены плавающими лабиринтными уплотнениями. Уплотнение насоса со стороны крышки 3 состоит из гидрозатвора и манжетного уплотнения.

Газогенератор

Рис.12.1. Газогенератор
  1. смесительная головка
  2. днище сферическое
  3. фланец подвода окислителя (2 шт.)
  4. бобышка
  5. огневая стенка
  6. рубашка
  7. дефлектор
  8. распылитель
  9. кольцо
  10. обечайка
  11.  
  12. штуцер
  13. штуцер
  14. штуцер
  15. втулка
  16. кронштейн
  17. кронштейн
  18. швеллер
  19. проушина
"Р" - полость

Рис.12.2. Смесительная головка газогенератора
  1. кольцо
  2. фланец
  3. заполнитель
  4. кольцо
  5. днище наружное
  6. крючок
  7. днище среднее
  8. днище внутреннее
  9. форсунки "Г"
  10. форсунки "О"
"Р" - полость

Таблица 4. Параметры газогенератора [7]
Параметр Значение Единицы
Давление в ГГ 23.8 МПа
Расход топлива через ГГ 403.5 кг/с
Соотношение компонентов 21.5 m(ок)/m(г)

Газогенератор предназначен для создания рабочего тела - газа, необходимого для привода турбины ТНА и наддува бака "О" ракеты через смеситель.

Двухзонный газогенератор (рис.12.1) представляет собой неразъемную сварную конструкцию, состоящую из плоской форсуночной головки, пояса разбавления и наружной рубашки. Детали наружной рубашки образуют сферическую поверхность. Соединение деталей и узлов газогенератора осуществлено путем сварки и пайки.

Форсуночная головка (рис.12.2) состоит из внутреннего 8, среднего и наружного 4 днищ, приваренных к силовому кольцу 6. Внутреннее и среднее днища образуют полость окислителя, а среднее и наружное полость горючего. Для уменьшения объема полости горючего в ней имеется заполнитель 3, закрепленный кольцом 1 и крючками 5.

На форсуночной головке расположено 85 форсунок горючего и 288 форсунок окислителя. Схема расположения форсунок - сотовая. Форсунки горючего припаяны к внутреннему и среднему днищам, форсунки окислителя - к внутреннему днищу. Поле разбавления (рис. 18) состоит из стенки 5, рубашки 6, дефлектора 7 и 32 распылителей 8 , установленных в два ряда в шахматном порядке. В распылителях имеются отверстия, диаметры, количество и схема расположения которых в распылителях выбраны из условия обеспечения равномерности поля температур газа на выходе из газогенератора. Для обеспечения вибропрочности распылителей второго от ФГ ряда к ним приварена цилиндрическая обечайка 10. К днищу 2 приварены две проушины 19 и кронштейн 7 для крепления узлов двигателя. На кронштейн 16 устанавливается вибродатчик, на швеллеры 18 -держатели под датчики давления.

Детали наружной рубашки изготовлены из высокопрочной нержавеющей стали, распылители из жаропрочной стали, внутреннее днище - из специальной бронзы с припайкой к нему со стороны окислителя фольги толщиной 0,1 мм из стали Х18Н9. Остальные детали газогенератора изготавливаются из нержавеющей высоколегированной стали.

На периферийную часть внутреннего днища (со стороны огневой полости), на внутренние поверхности колец 6, 9 (рис.12.1) и обечайки 10 нанесено жаростойкое циркониевое покрытие с подслоем нихрома для защиты от теплового и эрозионного воздействия горячих газов. На огневую поверхность днища 8 (рис.12.2) наносится покрытие из пористого хрома.

Работа газогенератора. Горючее подается через фланец 2 (рис.12.2) на форсуночную головку, откуда через форсунки - во внутреннюю полость газогенератора. Окислитель подводится в ГГ через два фланца 3 (рис.12.1). Около 70% окислителя проходит в форсуночную головку и распыливается форсунками, остальная часть окислителя проходит по каналам, образованным рубашкой 6 и оребренной стенкой 5, охлаждая последнюю. Далее окислитель через отверстия в рубашке 6 поступает в полость Р и через отверстия в распылителях впрыскивается во внутреннюю полость газогенератора против потока газа. Заданное распределение расходов между форсуночной головкой и поясом разбавления обеспечивается подбором проходного сечения между рубашкой 6 и стенкой 5.

Указанная схема обеспечивает протекание процесса образования окислительного газа в газогенераторе в двух зонах. Около форсуночной головки происходит смешение и сгорание компонентов топлива с образованием газа повышенной температуры (первая зона). В зоне распылителей продукты сгорания, поступившие из первой зоны, разбавляются окислителем для снижения температуры их до требуемого уровня (вторая зона). С целью улучшения условий охлаждения стенок ГГ расходы через расположенные в периферийной зоне форсунки окислителя 10 (рис.12.2) н форсунки горючего подобраны таким образом, чтобы температура пристеночного слоя была ниже, чем температура "ядра".

Струйный преднасос окислителя

Рис.13. Струйный преднасос окислителя
  1. сопловой аппарат
  2. конфузор
  3. смесительная камера
  4. диффузор

Струйный преднасос создает дополнительный напор (0.17 МПа) на входе в насос окислителя, что обеспечивает бескавитационную работу насоса при достаточно низком давлении в баке. Представляет собой сварную конструкцию и состоит из соплового аппарата, конфузора 2, смесительной камеры 3 и диффузора 4.

Окислитель под высоким давлением подводится в коллектор соплового аппарата. Из коллектора через отверстия в кольце активный поток направляется в конфузор и смесительную камеру 3, где. смешиваясь с основным потоком компонента, сообщает дополнительную скорость основному потоку. В диффузоре 4 скоростной напор потока преобразуется в статическое давление.

Агрегаты наддува баков

Газогенератор наддува бака горючего

Рис.14. Газогенератор наддува
  1. штуцер подвода горючего
  2. стопорное кольцо
  3. гайка накидная
  4. корпус
  5. форсунка горючего
  6. форсунка окислителя
  7. штуцер замера давления газа
  8. смесительная головка
  9. наружное днище
  10. трубка
  11. огневая стенка
  12. наружняя стенка
  13. огневая полость
  14. форсунка подвода балластного горючего
  15. фланец
  16. кольцо

Газогенератор наддува предназначен для создания рабочего тела - газа наддува бака горючего при полете ракеты.

Газогенератор представляет собой неразъемную сварную конструкцию, состоящую из шатровой форсуночной головки 8 и охлаждаемой горючим нижней части 13 с форсункой - разбавителем 14.

К выходному фланцу газогенератора присоединяется трубопровод наддува бака. Между газогенератором и трубопроводом установлен мембранный узел для разделения внутренних полостей двигателя и бака.

Компоненты топлива подводятся в газогенератор через штуцер 1 (горючее) и штуцер корпуса 4 (окислитель). Номинальные расходы окислителя и горючего обеспечиваются проходными сечениями жиклеров, установленных на магистралях подвода компонентов топлива.

Для обеспечения устойчивого режима работы газогенератор имеет двухзоное смешение компонентов. В зону сгорания через форсуночную головку подается весь расход окислителя и треть расхода горючего. Остальная часть горючего подается в зону разбавления через форсунку - разбавитель 14, благодаря чему происходит снижение температуры газа до заданного значения. Охлаждение газогенератора обеспечивается протоком горючего по межрубашечному пространству к форсунке-разбавителю.

Таблица 5. Параметры газогенератора наддува (при работе двигателя па режиме главной ступени)
Параметр Значение Единицы
Давление в ГГ 7 МПа
Давление газа на выходе из ГГ 2.5 МПа
Температура газа на выходе из ГГ 520 K
Соотношение компонентов 0.063 m(ок)/m(г)

Смеситель наддува бака окислителя

Рис.15. Смеситель
  1. жиклер
  2. жиклер
  3. труба
  4. переходник
  5. кожух
  6. труба
  7. штуцер

В смесителе образуется газ с избытком окислителя для наддува бака изделия.

Смеситель представляет собой сварную конструкцию, состоящую из трубы 6 и кожуха 5. В пяти поперечных сечениях трубы 6 имеется по четыре равнорасположенных по окружности отверстия. К кожуху 5 приварена труба 3, соединяющаяся с полостью окислителя газогенератора.

Газ от коллектора турбины через жиклер 1 поступает в трубу 6. Для понижения температуры газа до требуемой из газогенератора через жиклер 2 по трубе 3 подводится окислитель, который через отверстия в трубе 6 впрыскивается в газовый поток.

Номинальные расходы газа и окислителя обеспечиваются жиклерами 7 и 2.

Таблица 5. Параметры смесителя
Параметр Значение Единицы
Давление газа на выходе 3.5 МПа
Температура газа на выходе из ГГ 520 K

Узлы и агрегаты

Компенсатор

Рис.16. Компенсатор
  1. кольцо
  2. кольцо
  3. сильфон
  4. штуцер
  5. фланец
  6. кронштейн
  7. кронштейн

Компенсатор обеспечивает возможность качания изделия на угол ±8. Гибкой частью компенсатора является сильфон 3, приваренный к кольцу 1 и фланцу 5. Между гофрами сильфона расположены резиновые кольца 2 для сохранения профиля гофра при наличии давления внутри сильфона и изгиба компенсатора при качании изделия.

Пиромембранный клапан

Рис.17. Пиромембранный клапан
  1. корпус
  2. корпус
  3. мембрана
  4. перекладина
  5. нож
  6. кольцо
  7. мембрана
  8. гайка
  9. бобышка

Пиромембранный клапан служит для разобщения полости насоса от полости подводящей магистрали при хранении.

Клапан состоит из корпусов 1 и 2. Между корпусами установлены мембрана 3 и кольцевой нож 5. При подаче напряжении на пиропатроны воспламеняются их пирозаряды. Давление пороховых газов, прорвав мембрану 7, передается через алюминиевое кольцо 6 на нож 5. Нож 5, перемещаясь в направлении мембраны 3, срезает последнюю по окружности. Под действием потока окислителя срезанная мембрана отгибается но направлению потока и облегает перекладину 4, открывая доступ компонента в насос.

Пироклапан

Рис.18. Пироклапан
  1. трубопровод
  2. корпус
  3. чека
  4. пирочека
  5. пружины
  6. клапан
  7. кольцо
  8. прижим

Пироклапан предназначен для прекращения подачи окислителя в газогенератор при выключении изделия.

Пироклапан состоит из корпуса 2 и клапана 6. Корпус имеет бобышку с отверстием для установки пирочеки 4. Клапан 6 устанавливается в расточку обтекаемого прилива корпуса 2 и удерживается чекой пирочеки 4.

При подаче напряжения на пиропатрон срабатывает пирочека. Чека 3 выходит из зацепления с клапаном 6. Клапан под действием пружины 5 перемещается и садится уплотняющим кольцом 7 на седло газогенератора, прекращая поступление компонента в газогенератор.

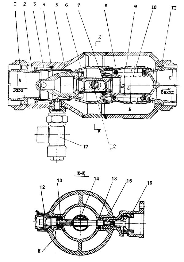
Регулятор расхода

Рис.19. Регулятор расхода
  1. корпус
  2. гайка
  3. стакан
  4. пружина
  5. игла
  6. обойма
  7. рейка
  8. пружина
  9. золотник
  10. направляющая
  11. гайка
  12. золотник
  13.  
  14. подшипник
  15. уплотнение
  16. полумуфта
  17. пирочека

Регулятор расхода является исполнительным органом системы РКС и предназначен для изменения расхода горючего с целью изменения режима работы двигателя, для перевода режима его работы с предварительной ступени на главную и поддержания постоянного расхода, соответствующего режиму работы двигателя на предварительной и главной ступенях.

В корпусе 1 со стороны выхода на резьбе установлена направляющая 10 с золотником 9 и пружиной 8. Золотник предназначен для изменения гидравлического сопротивления между полостями Б и С, пружина - для уравновешивания сил от перепада давлений на эффективной площади золотника. Эффективная площадь золотника - кольцевая поверхность, ограниченная диаметрами D1 и D2.

Игла 5 предназначена для изменения расхода компонента через регулятор. Перемещается игла при помощи валика 14, который находится в зацеплении с рейкой . Рейка устанавливается в обойме 6 и прижимается торцем иглы 5. Валик 14 установлен на двух шарикоподшипниках 13. На валике крепится полумуфта 16, которая стыкуется с полумуфтой выходного вала привода РКС.

Золотник 12 предназначен для точной настройки предварительной ступени регулятора на определенный расход. Поворачивая золотник 12 и меняя при этом площадь окна Е, можно увеличивать или уменьшать перепуск компонента из полости А в полость Б через отверстия в игле 5.

На рисунках 26, 27 показан регулятор, настроенный на предварительную ступень. Стакан 3 удерживается в крайнем положении пирочекой 7. При этом величина расхода компонента через регулятор определяется суммарной площадью проходных сечений между стаканом 3 и иглой 5 и окна, обеспечиваемого золотником 12. Для перехода на режим главной ступени подастся напряжение на пиропатрон пирочеки 17. Пиропатрон срабатывает и чека выдергивается из отверстия стакана 3. Стакан усилием пружины 4 отводится до упора о гайку 2, увеличивая проходное сечение между иглой и кромкой стакана.

Номинальный расход компонента на режиме главной ступени обеспечивается положением иглы 5 относительно стакана 3.

Постоянный расход на режимах предварительной и главной ступеней обеспечивается постоянным перепадом давления между полостями А и Б. При уменьшении расхода через регулятор, вызванного уменьшением давления в полости А или увеличением давления в полости С, равновесие сил, действующих на золотник 9 (сила пружины и сила от перепада давления на эффективную площадь золотника), нарушается. Золотник перемещается в сторону увеличения дросселирующей щели, тем самым уменьшает гидравлическое сопротивление между полостями Б и С.

Давление в полости Б падает до величины, при которой наступает равновесие сил, действующих на золотник. Перепад давлений между полостями Л и Б, а, следовательно, и расход восстанавливаются.

При поступлении команды от системы РКС на изменение расхода электропривод поворачивает валик 14 на определенный угол, при котором игла 5 занимает новое положение, соответствующее новому требуемому расходу компонента.

Дроссель

Рис.20. Дроссель
  1. полумуфта
  2. фторопластовое кольцо
  3. резиновое кольцо
  4. кулачок
  5. крышка
  6. пружина
  7. ролик
  8. пружина
  9. шток
  10. корпус
  11. решетка
  12. решетка
  13. гайка
  14. винт
  15. опорные шарики
  16. штифт
  17. шпильки
  18. пробка

Дроссель является исполнительным органом системы СОБ и предназначен для изменения гидравлического сопротивления магистрали подвода горючего после насоса, дроссель устанавливается между выходным патрубком насоса горючего первой ступени и клапаном горючего.

В корпусе 10 установлены подвижная 12 и неподвижная 11 решетки.

Решетка 11 фиксируется от проворачивания штифтом 16, запрессованным в корпус. От перемещения в осевом направлении решетки удерживаются гайкой 13, которая контрится винтом 14. Для уменьшения усилия, необходимого для поворота решетки 12, последняя установлена между гайкой 13 и решеткой 11 на стальных шариках 15). Решетка 12 со штоком 9 находится в червячном зацеп­лении. Шток через ролик 7 прижимается усилием пружины 8 к поверхности кулачка 4 и о от проворачивания удерживается пробкой 18.

Кулачок спрофилировали таким образом, чтобы обеспечить определенное изменение перепада давления на дросселе в зависи­мости от угла поворота кулачка.

По команде от системы СОБ электропривод поворачивает кулачок. При повороте кулачок сообщает штоку поступательное движение, которое преобразуется во вращательное движение решетки 12, находящейся в зацеплении со штоком 9. За счет перекрытия окон изменяется проходное сечение дросселя и, следовательно, перепад давления на дросселе

Модификации

РД-256 (11Д27)

На основании постановления Правительства от 24 июля 1969 г. Камский филиал КБ Энергомаш разрабатывал форсированную по тяге на 16.6% модификацию двигателя РД-253. Новый двигатель РД-256 был предназначен для I ступени РН 11К88. Форсирование двигателя осуществлялось за счет повышения давления газов в камере сгорания камеры с 150 до 172.8 кгс/см2, при этом удельный импульс тяги у земли увеличивается на 3 с.

Применение основных схем и узлов отработанного и обладающего высокой надежностью двигателя РД-253 давало возможность, используя производственную и стендовую базу завода им. Я.М. Свердлова, сократить сроки подготовки и доводки модернизированного двигателя, а также снизить стоимость отработки двигателя РД-256.

В 1970 г. филиалом в основном была разработана документация на двигатель РД-256, а опытным заводом Энергомаш изготовлены два макета двигателя.

На заводе им. Я.М. Свердлова были изготовлены двигатели РД-253Г, приспособленные для испытаний газогенераторов, и на стенде провели 16 их испытаний. Одновременно с испытаниями газогенераторов в составе двигателей РД-253Г проверялись конструктивные решения и по другим агрегатам (газогенератору наддува с измененной схемой ввода балластировочного горючего, насосу горючего с подшипником, смазываемым и охлаждаемым протоком горючего, датчику давления системы РКС, разработанному предприятием «Восход»). Результаты проверок были положительными. Завод им. М.И. Калинина изготовил и провел автономную проверку регулятора расхода и дросселя.

Однако по разным причинам, в том числе и в связи с большой загруженностью завода им. Я.М. Свердлова, работы по освоению двигателя РД-256 были прекращены на стадии выпуска рабочей документации и предварительных доводочных испытаний (ПДИ) агрегатов.

РД-253У

В связи с необходимостью улучшения энергетических характеристик РН «Протон-К» с начала 1974 г. Камским филиалом проводилась проработка технических предложений по форсированию двигателя РД-253 на 7.7% по тяге за счет повышения давления газов в камере сгорания со 150 до 160.5 кгс/см2.

Такое форсирование позволяло увеличить массу выводимой на орбиту полезной нагрузки на 600 кг. Анализ показал возможное обеспечения требуемого форсирования двигателя РД-253 при внесении ряда изменений, в их числе: применение однозонного газогенератора вместо двухзонного; перенос осевсого усилия в насосе горючего с радиального на радиально-упорный подшипник; упрочнение корпусов насосов ТНА и др. Двигатель условно был назван РД-253У. В 1974 г. был разработана техническая документация на изготовление и экспериментальную отработку изменяемых агрегатов и узлов двигателя. Однако работы по двигателю РД-253У были заморожены. Несмотря на закрытие работ по форсированию двигателя РД-253, многие технические предложения проверялись с точки зрения повышения надежности и часть из них была реализована в двигателе РД-253.

В 1982 г. в соответствии с новым техническим заданием, выданным КБ «Салют», Камский филиал возобновил разработку двигателя РД-253У с приведенными выше повышенными характеристиками и увеличенной на 30% продолжительностью работы. Для выполнения требований этого ТЗ филиалом была разработана техническая документация. В 1983-1987 гг. проводилась подготовка производства, автономная отработка агрегатов, проверка конструкторских изменений в составе экспериментальных двигателей. Работоспособность узлов и агрегатов на форсированных режимах двигателя РД-253У проверялась в составе экспериментальных двигателей в рамках работ по повышению надежности двигателя РД-253. Было проведено 12 испытаний двигателя продолжительностью примерно до 1.8 ресурса прототипа. При этом оценивалась работа двигателя как на штатных режимах, так и при нештатном (аварийном) форсировании. Проверялись запуск двигателя на номинальный режим (давление в камере рк = 160.5 кгс/см2); перевод двигателя с режима номинальной тяги на режим аварийного форсирования и работа на нем. Результаты испытаний были удовлетворительными.

В связи с закрытием работ по двигателю РД-253У большая часть проверенных изменеий его узлов и агрегатов была использована для двигателей РД-253 и впоследствии для РД-275.

РД-275


Рис.21. РД-275

С целью увеличения массы полезного груза, выводимого на околоземную и геостационарную орбиту с одновременным снижением себестоимости выполнения этих работ, в 1987 г. было принято решение о повышении тяговооруженности РН "Протон".

С учетом занятости конструкторских и роизводственных подразделений КБ Энеромаш, разработка и отработка двигателя РД-275 была поручена Камскому филиалу КБ Энергомаш на производственной и стендовой базе ПО «Моторостроитель» им. Я.М. Свердлова (ныне ОАО «Протон-ПМ»), изготовителя серийного двигателя-прототипа РД-253.

Техническим заданием КБ «Салют» от 2 декабря 1987 г. была поставлена задача в минимальные сроки разработать высоконадежный маршевый двигатель для первой ступени РН «Протон» с тягой у земли на 7.7% больше, чем у двигателя РД-253, при сохранении габаритных размеров и массы прототипа. Увеличение тяги обеспечивалось увеличением давления в камере, при этом удельный импульс тяги у земли возрастал на 2 с.

Эскизный проект двигателя был разработан в декабре 1987 г. По результатам утяжеленных испытаний и опыта серийного производства двигателя-прототипа для вновь проектируемого двигателя были разработаны сборочные единицы измененной конструкции: сопло камеры с диффузионной пайкой соединений стенок через гальваническое медно-серебряное покрытие и увеличением толщины ребер с 1.1 до 1.3 мм; сопло-надставка камеры с фрезерованной титановой стенкой; фильтры во входных магистралях; регулятор расхода с новой направляющей и измененной проточной частью в целях обеспечения низкочастотной устойчивости системы регулятор - двигатель; газогенератор, на котором были реализованы мероприятия по повышению теплостойкости.

В первоначальном варианте предусматривался однозонный газогенератор, более простой и технологичный, чем двухзонный у двигателя-прототипа. В процессе отработки на этапе чистовых доводочных испытаний была отмечена склонность выбранной конструкции газогенератора к высокочастотной неустойчивости на частоте 1200 Гц на режимах дросселирования. Ограниченность средств и времени не позволили устранить этот недостаток и однозонный газогенератор был заменен на серийный двухзонный. Одновременно по плану повышения надежности в конструкцию двухзонного газогенератора были внесены изменения, направленные на увеличение запасов по охлаждению. Новая конструкция сборочных единиц обеспечила существенное увеличение прочностных характеристик, запасов работоспособности узлов и агрегатов двигателя, в том числе теплостойкости газогенератора.

Доводочные испытания были закончены в марте 1990 г. Испытания подтвердили правильность принятых новых конструкторских решений. МВИ проводились в период с 27 июня по 14 сентября 1990 г. В сентябре 1991 г. конструкторская документация была предъявлена заказчику, и ей была присвоена литера О1. Серийное производство началось в январе 1992 г. Первое летное испытание РН «Протон» с двигателями РД-275 проведено 11 октября 1995 г. Применение двигателей РД-275 позволило увеличить на 600 кг массу полезного груза, выводимого на околоземную орбиту, и уменьшить стоимость его выведения.

РД-275М (14Д14М; РД-276)*

С целью повышения увеличения массы полезного груза, выводимой РН «Протон-М», Камский филиал в 2001 г. приступил к разработке двигателя РД-275М (РД-276) - форсированной модификации серийного двигателя РД-275. Форсирование двигателя на 5.3% по тяге осуществляется за счет повышения давления газов в камере сгорания до 168.5 кг/см2. Такое повышение тяги двигателя позволяет увеличить на 150 кг массу полезной нагрузки, выводимой ракетой на стационарную орбиту.

В 2002—2003 гг. проводился выпуск конструкторской и технологической документации на двигатель РД-275М (РД-276), подготовка производства измененных агрегатов, их изготовление. Для оценки запуска при повышенном давлении в камере сгорания, работоспособности заимствованных агрегатов на форсированных режимах, ряда вводимых усовершенствований проведено четыре доводочных испытания трех приспособленных двигателей РД-275М (РД-276).

15 июня 2005 г. была завершена программа межведомственных испытаний 3-х двигателей 14Д14М.

7 июля 2007 г. состоялся первый пуск РН «Протон-М» с двигателями РД-275М (14Д14М).

*) На сайте НПО Энергомаш используется обозначение РД-275М (14Д14М). На сайте ОАО "Протон–ПМ", а также в источнике [12] используется обозначение РД-276.

Галерея

Использованные источники информации

  1. Энциклопедия КОСМОНАВТИКА. - М.: Советская энциклопедия, 1985.
  2. Гудилин В.Е. УР-500
  3. ОАО "Протон–ПМ"
  4. "Протон-М" – AMC-15
  5. Рахманин В. Ф. К истории создания двигателя первой ступени ракеты-носителя "ЭНЕРГИЯ".
  6. George P. Sutton "History of Liquid Propellant Rocket Engines"
  7. George P. Sutton. Rocket Propulsion Elements, 7th edition
  8. Конструкция и проектирование жидкостных ракетных двигателей. Г.Г.Гахун, В.И.Баулин, В.А.Володин и др.; Под общ. ред. Г.Г.Гахуна. - М. : Машиностроение, 1989
  9. Авиационные, ракетные, морские, промышленные двигатели. 1944-2000. Справочник.
  10. Добровольский М.В. Жидкостные ракетные двигатели. - М.: МГТУ, 2005.
  11. РД-253 на сайте НПО Энергомаш.
  12. НПО «Энергомаш» имени академика В.П.Глушко. Путь в ракетной технике. Под ред. Б.И.Каторгина. - М., Машиностроение-Полет, 2004.
  13. Мартемьянов Р.В. Учебно-методическое пособие по лабораторной работе «Изучение изделия РД-253». - М.: БГТУ "Военмех", 1997.